专利数据库
统计分析
产业报告
专利数据监控
产业人才
行业动态
产业政策法规
维权援助
个人中心
详情
文本
图像
标题
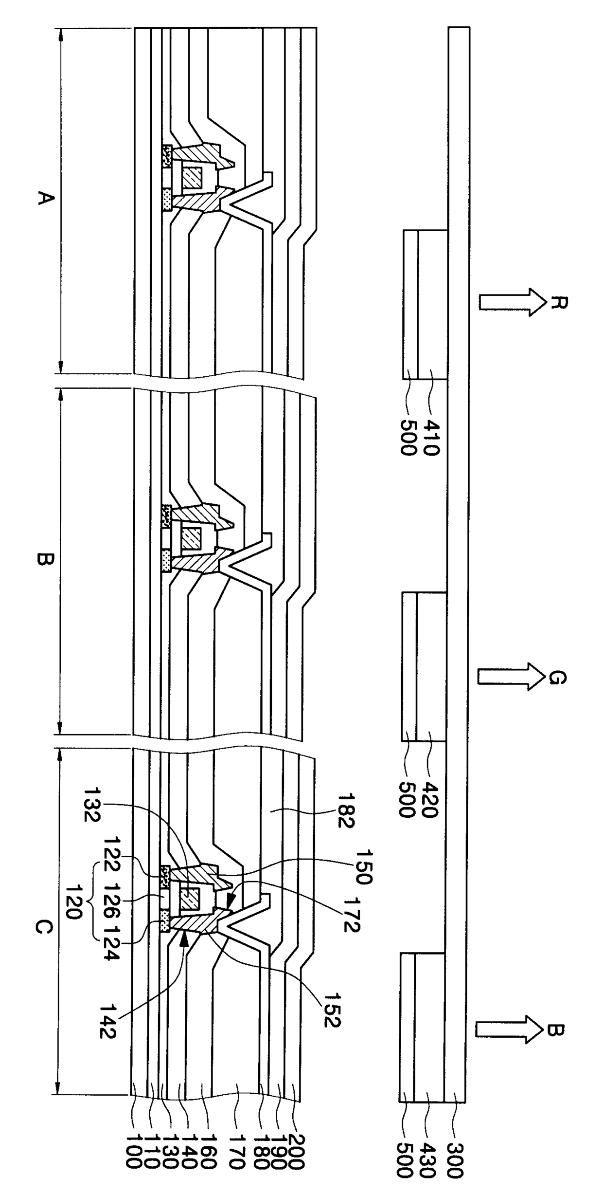
풀 칼라 유기 전계 발광 표시 소자 및 그 제조방법
授权日
1900-01-01
公开(公告)号
KR1020060026775A
申请日
2004-09-21
公开(公告)日
2006-03-24
当前申请(专利权)人
삼성에스디아이 주식회사
发明人
박준영 | 권장혁
简单同族
CN100493277C | CN1767703A | JP2006093124A | KR100656496B1 | KR1020060026775A | US20060060870A1 | US7940001
简单同族成员数量
7
简单同族被引用专利总数
46
诉讼案件数
0
法律状态/事件
授权 | 权利转移
抱歉,您的浏览器不支持PDF预览,请点击链接下载PDF文件