专利数据库
统计分析
产业报告
专利数据监控
产业人才
行业动态
产业政策法规
维权援助
个人中心
详情
文本
图像
标题
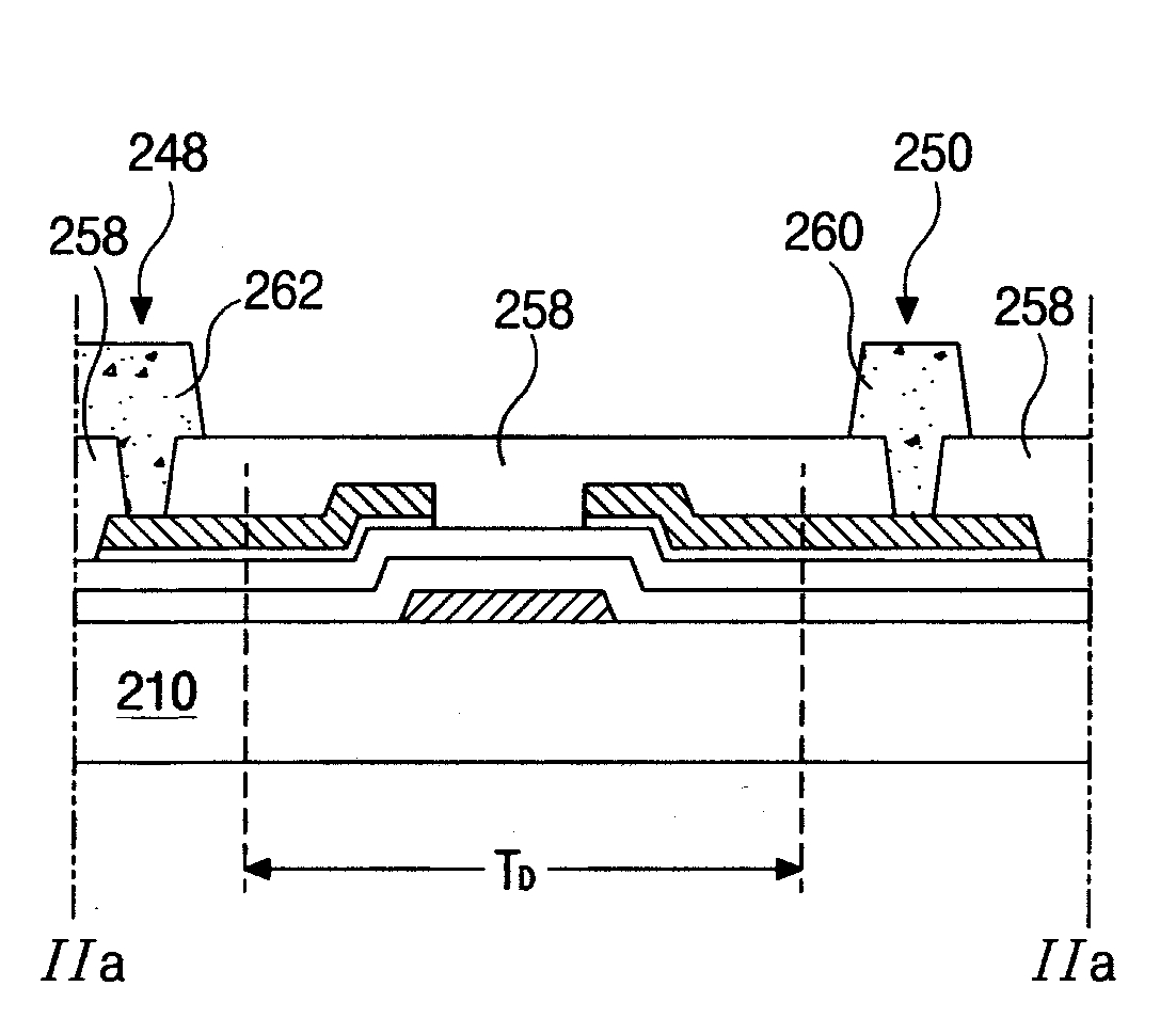
듀얼패널타입 유기전계발광 소자 및 그 제조방법
授权日
1900-01-01
公开(公告)号
KR1020040058448A
申请日
2002-12-26
公开(公告)日
2004-07-05
当前申请(专利权)人
엘지디스플레이 주식회사
发明人
박재용 | 황광조
简单同族
CN100359710C | CN1516533A | DE10361006A1 | DE10361006A8 | DE10361006B4 | FR2849959A1 | FR2849959B1 | GB0330030D0 | GB2396736A | GB2396736B | JP2004212992A | JP2007329138A | JP4068554B2 | JP4785809B2 | KR100497096B1 | KR1020040058448A | NL1025119A | NL1025119C | TW200418341A | TWI298600B | US20040129936A1 | US20050269967A1 | US6984847 | US7232702
简单同族成员数量
24
简单同族被引用专利总数
60
诉讼案件数
0
法律状态/事件
授权
抱歉,您的浏览器不支持PDF预览,请点击链接下载PDF文件