专利数据库
统计分析
产业报告
专利数据监控
产业人才
行业动态
产业政策法规
维权援助
个人中心
详情
文本
图像
标题
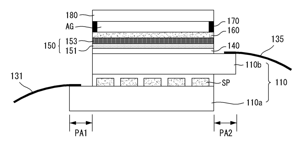
유기전계발광표시장치
授权日
1900-01-01
公开(公告)号
KR1020100131797A
申请日
2009-06-08
公开(公告)日
2010-12-16
当前申请(专利权)人
엘지디스플레이 주식회사
发明人
이재도 | 최호원 | 서상우
简单同族
CN101908314A | CN101908314B | EP2261986A2 | EP2261986A3 | EP2869346A2 | EP2869346A3 | JP2010282171A | JP5290128B2 | KR101323434B1 | KR1020100131797A | US20100309150A1 | US8599149
简单同族成员数量
12
简单同族被引用专利总数
81
诉讼案件数
0
法律状态/事件
授权
抱歉,您的浏览器不支持PDF预览,请点击链接下载PDF文件