专利数据库
统计分析
产业报告
专利数据监控
产业人才
行业动态
产业政策法规
维权援助
个人中心
详情
文本
图像
标题
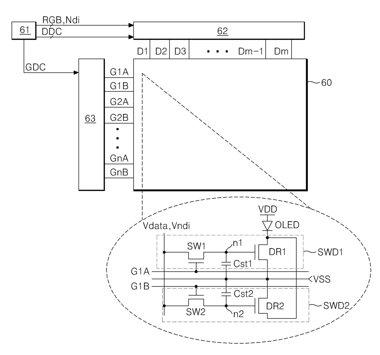
유기발광다이오드 표시장치와 그 구동방법
授权日
1900-01-01
公开(公告)号
KR1020080099380A
申请日
2007-05-09
公开(公告)日
2008-11-13
当前申请(专利权)人
엘지디스플레이 주식회사
发明人
남우진 | 정인재 | 김기용 | 장철상 | 주인수
简单同族
KR101352175B1 | KR1020080099380A | US20080284691A1 | US20140111566A1 | US8686925 | US9135854
简单同族成员数量
6
简单同族被引用专利总数
59
诉讼案件数
0
法律状态/事件
授权
抱歉,您的浏览器不支持PDF预览,请点击链接下载PDF文件