专利数据库
统计分析
产业报告
专利数据监控
产业人才
行业动态
产业政策法规
维权援助
个人中心
详情
文本
图像
标题
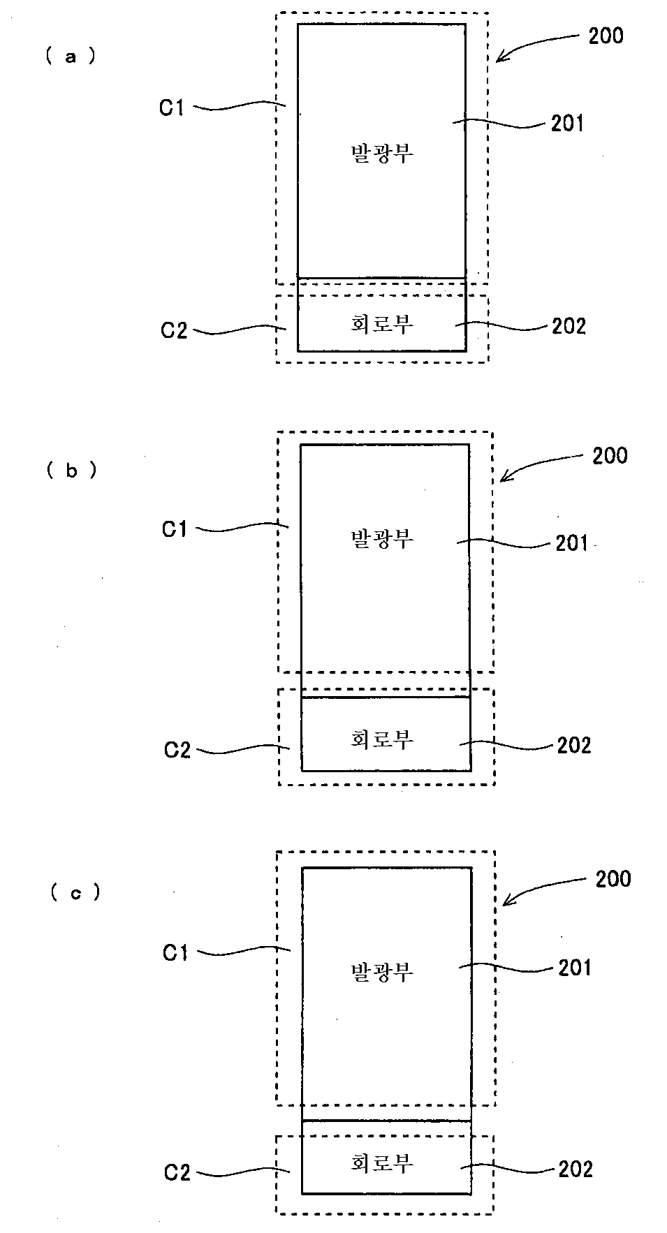
표시 장치
授权日
1900-01-01
公开(公告)号
KR1020030084662A
申请日
2003-04-22
公开(公告)日
2003-11-01
当前申请(专利权)人
산요덴키가부시키가이샤
发明人
마쯔모또쇼이찌로 | 안자이가쯔야
简单同族
CN1250052C | CN1453759A | JP2004004797A | KR100560026B1 | KR1020030084662A | TW200307228A | TW591564B | US20040017149A1 | US6828723
简单同族成员数量
9
简单同族被引用专利总数
47
诉讼案件数
0
法律状态/事件
授权
抱歉,您的浏览器不支持PDF预览,请点击链接下载PDF文件