专利数据库
统计分析
产业报告
专利数据监控
产业人才
行业动态
产业政策法规
维权援助
个人中心
详情
文本
图像
标题
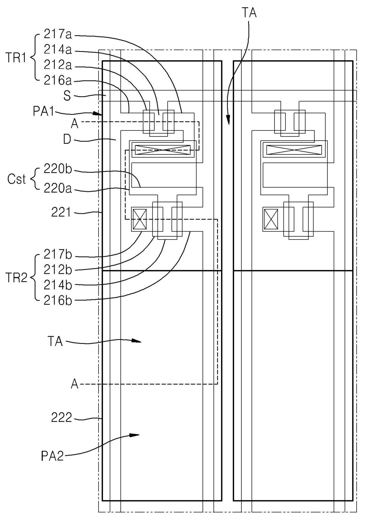
유기 발광 표시 장치
授权日
1900-01-01
公开(公告)号
KR1020110097046A
申请日
2010-02-24
公开(公告)日
2011-08-31
当前申请(专利权)人
삼성모바일디스플레이주식회사
发明人
정희성 | 고성수 | 정철우 | 박순룡 | 안치욱 | 고무순 | 김옥병 | 정우석 | 조일룡 | 김태규 | 이덕진
简单同族
CN102169886A | CN102169886B | DE102010044022A1 | JP2011175962A | JP5864846B2 | KR101084198B1 | KR1020110097046A | TW201130372A | TWI535329B | US20110205198A1 | US8664848
简单同族成员数量
11
简单同族被引用专利总数
82
诉讼案件数
0
法律状态/事件
授权 | 权利转移
抱歉,您的浏览器不支持PDF预览,请点击链接下载PDF文件