专利数据库
统计分析
产业报告
专利数据监控
产业人才
行业动态
产业政策法规
维权援助
个人中心
详情
文本
图像
标题
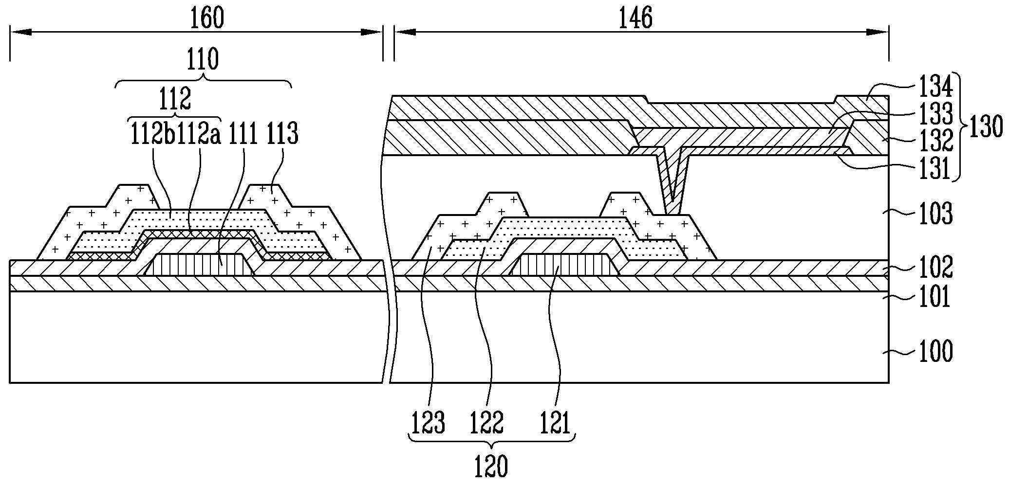
유기전계발광 표시 장치 및 그의 제조 방법
授权日
1900-01-01
公开(公告)号
KR1020100082940A
申请日
2009-01-12
公开(公告)日
2010-07-21
当前申请(专利权)人
삼성모바일디스플레이주식회사
发明人
박진성 | 모연곤 | 정현중 | 정재경 | 김민규 | 안태경
简单同族
AT523898T | CN101794809A | CN101794809B | EP2207206A1 | EP2207206B1 | JP2010161327A | JP5274327B2 | KR101034686B1 | KR1020100082940A | TW201030967A | TWI423436B | US20100176383A1 | US8436342
简单同族成员数量
13
简单同族被引用专利总数
130
诉讼案件数
0
法律状态/事件
授权 | 权利转移
抱歉,您的浏览器不支持PDF预览,请点击链接下载PDF文件