专利数据库
统计分析
产业报告
专利数据监控
产业人才
行业动态
产业政策法规
维权援助
个人中心
详情
文本
图像
标题
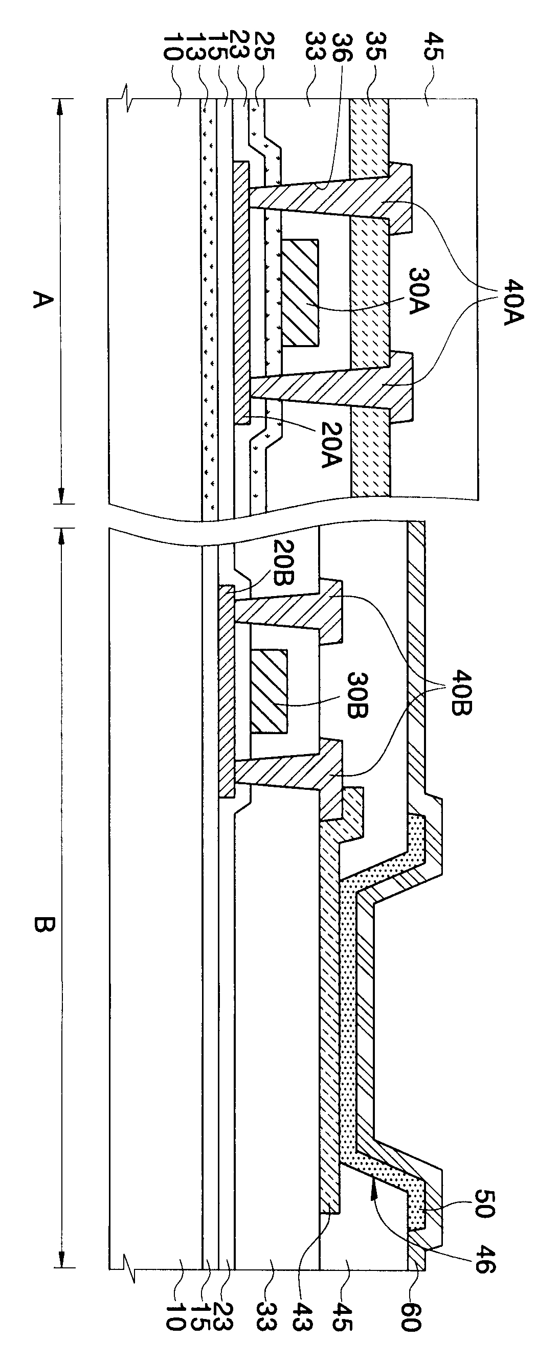
유기전계발광표시장치 및 그의 제조방법
授权日
2006-12-05
公开(公告)号
KR100656497B1
申请日
2004-02-09
公开(公告)日
2006-12-11
当前申请(专利权)人
삼성에스디아이 주식회사
发明人
이헌정 | 박상일
简单同族
CN100492705C | CN1655655A | JP2005222068A | KR100656497B1 | KR1020050080406A | US20050173709A1 | US7544534
简单同族成员数量
7
简单同族被引用专利总数
55
诉讼案件数
0
法律状态/事件
授权 | 权利转移
抱歉,您的浏览器不支持PDF预览,请点击链接下载PDF文件