专利数据库
统计分析
产业报告
专利数据监控
产业人才
行业动态
产业政策法规
维权援助
个人中心
详情
文本
图像
标题
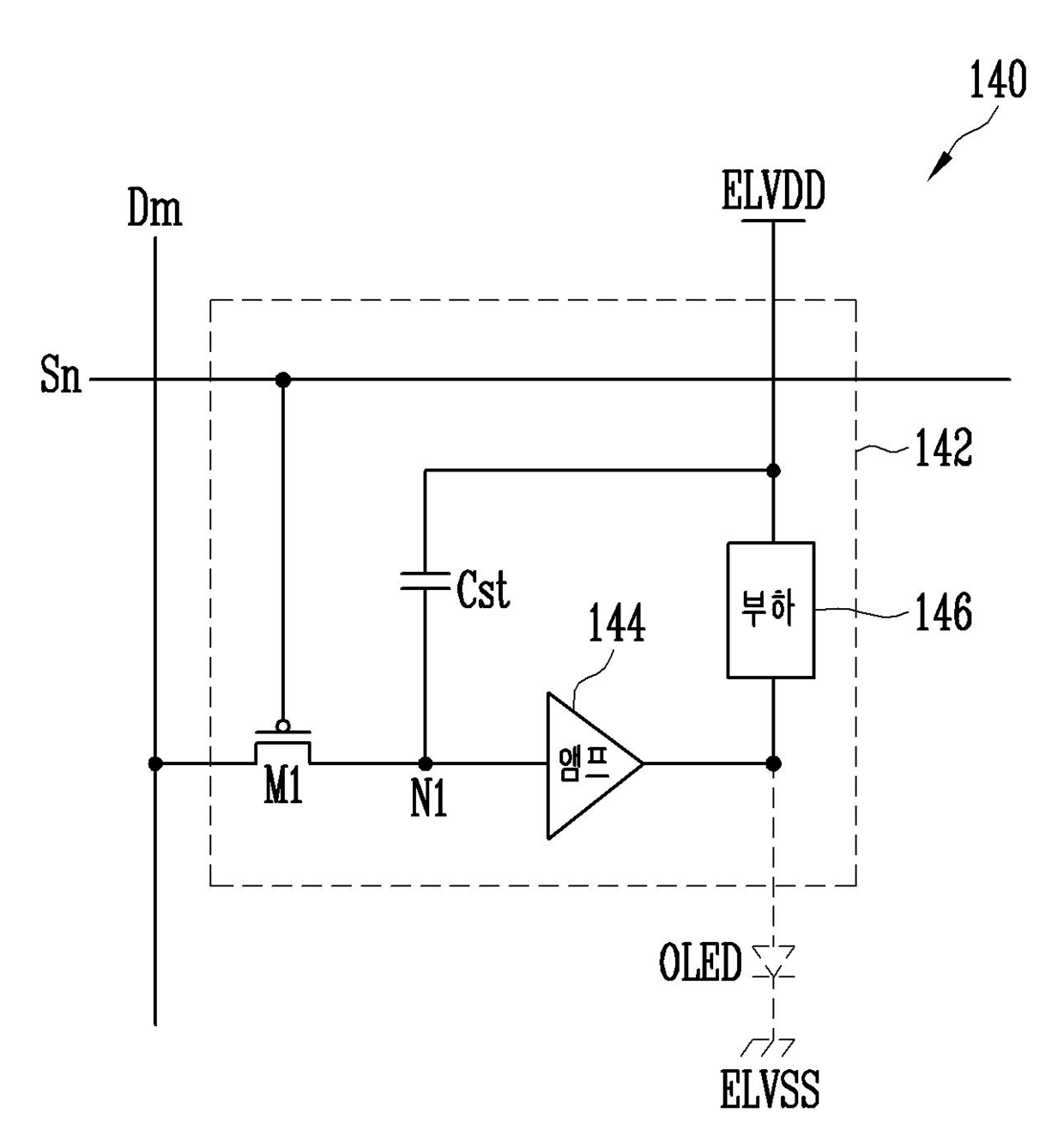
발명의 명칭 화소 및 이를 이용한 유기전계발광 표시장치
授权日
2012-03-05
公开(公告)号
KR101125987B1
申请日
2009-12-09
公开(公告)日
2012-03-19
当前申请(专利权)人
한양대학교 산학협력단
发明人
KWON, OH KYONG
简单同族
KR101125987B1 | KR1020110064802A
简单同族成员数量
2
简单同族被引用专利总数
0
诉讼案件数
0
法律状态/事件
授权
抱歉,您的浏览器不支持PDF预览,请点击链接下载PDF文件