专利数据库
统计分析
产业报告
专利数据监控
产业人才
行业动态
产业政策法规
维权援助
个人中心
详情
文本
图像
标题
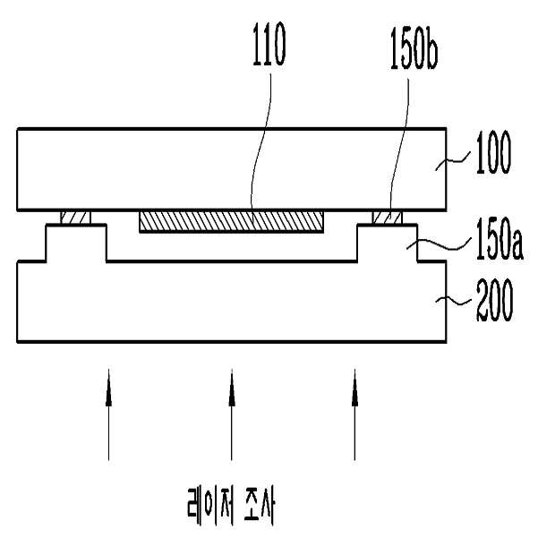
유기 전계 발광 표시장치 및 그 제조 방법
授权日
2007-02-22
公开(公告)号
KR100688790B1
申请日
2006-01-27
公开(公告)日
2007-03-02
当前申请(专利权)人
삼성에스디아이 주식회사
发明人
박진우
简单同族
CN100524806C | CN101009319A | EP1814186A2 | EP1814186A3 | JP2007200836A | JP4554554B2 | KR100688790B1 | TW200730014A | TWI359624B | US20070176549A1 | US8125146
简单同族成员数量
11
简单同族被引用专利总数
126
诉讼案件数
0
法律状态/事件
未缴年费 | 权利转移
抱歉,您的浏览器不支持PDF预览,请点击链接下载PDF文件