专利数据库
统计分析
产业报告
专利数据监控
产业人才
行业动态
产业政策法规
维权援助
个人中心
详情
文本
图像
标题
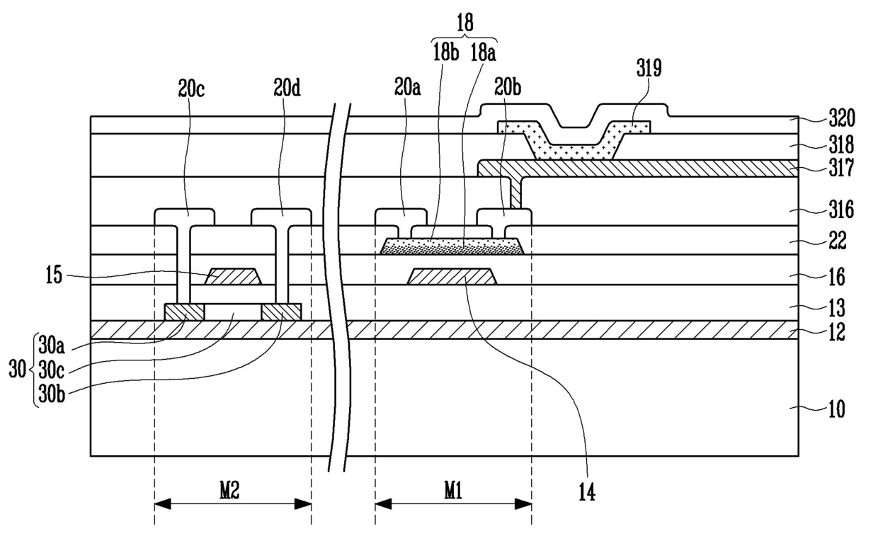
유기 전계발광 표시장치
授权日
2011-07-06
公开(公告)号
KR101048965B1
申请日
2009-01-22
公开(公告)日
2011-07-12
当前申请(专利权)人
삼성모바일디스플레이주식회사
发明人
최종현 | 임장순 | 김성호 | 이일정
简单同族
KR101048965B1 | KR1020100086256A | US20100182223A1
简单同族成员数量
3
简单同族被引用专利总数
152
诉讼案件数
0
法律状态/事件
授权 | 权利转移
抱歉,您的浏览器不支持PDF预览,请点击链接下载PDF文件