专利数据库
统计分析
产业报告
专利数据监控
产业人才
行业动态
产业政策法规
维权援助
个人中心
详情
文本
图像
标题
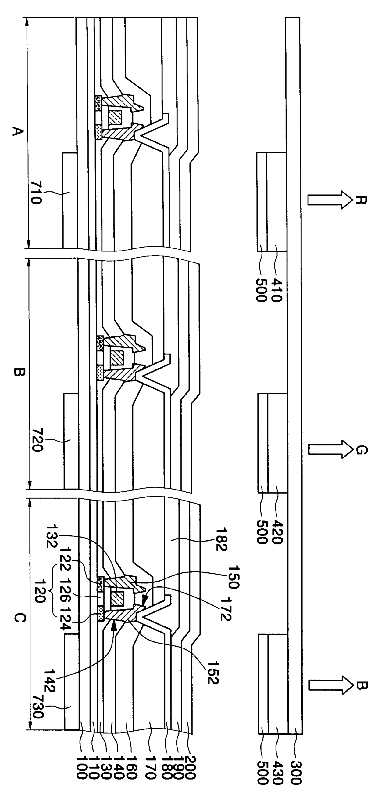
풀 칼라 유기 전계 발광 표시 소자 및 그 제조방법
授权日
2006-10-11
公开(公告)号
KR100635575B1
申请日
2004-11-17
公开(公告)日
2006-10-17
当前申请(专利权)人
삼성에스디아이 주식회사
发明人
박준영
简单同族
CN1780018A | JP2006147561A | KR100635575B1 | KR1020060055054A | US20060102913A1 | US20090285977A1 | US7659661 | US8557325
简单同族成员数量
8
简单同族被引用专利总数
82
诉讼案件数
0
法律状态/事件
授权 | 权利转移
抱歉,您的浏览器不支持PDF预览,请点击链接下载PDF文件