专利数据库
统计分析
产业报告
专利数据监控
产业人才
行业动态
产业政策法规
维权援助
个人中心
详情
文本
图像
标题
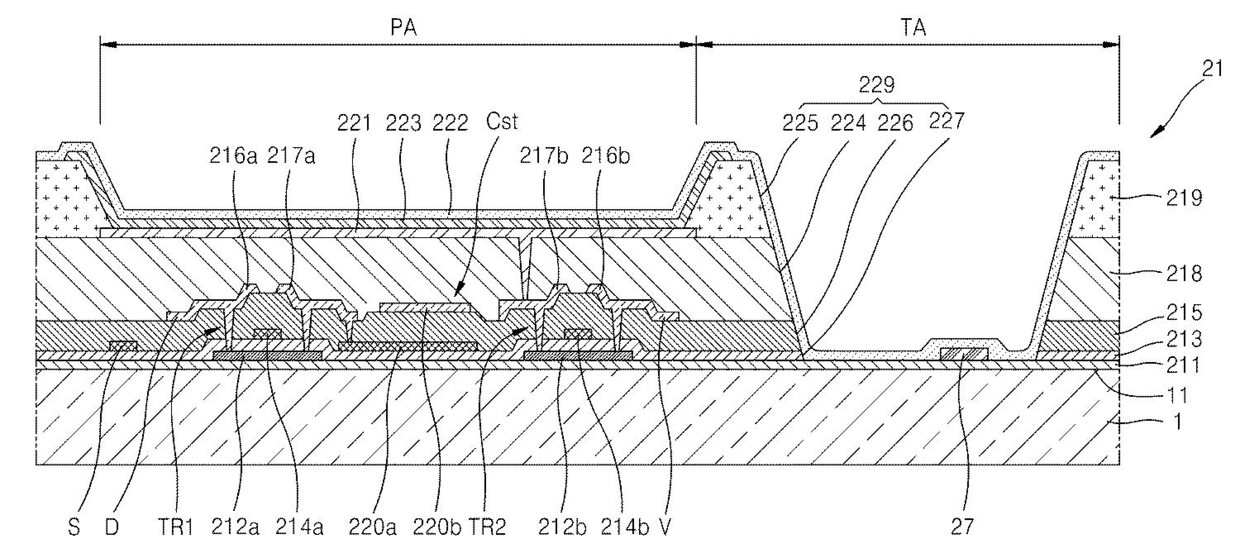
유기 발광 표시 장치
授权日
2011-11-10
公开(公告)号
KR101084195B1
申请日
2010-02-19
公开(公告)日
2011-11-17
当前申请(专利权)人
삼성모바일디스플레이주식회사
发明人
하재흥 | 황규환 | 윤석규 | 송영우 | 이종혁 | 최준호 | 정진구
简单同族
JP2011171278A | JP5639839B2 | KR101084195B1 | KR1020110095653A | US20110204369A1 | US9099674
简单同族成员数量
6
简单同族被引用专利总数
78
诉讼案件数
0
法律状态/事件
授权 | 权利转移
抱歉,您的浏览器不支持PDF预览,请点击链接下载PDF文件