专利数据库
统计分析
产业报告
专利数据监控
产业人才
行业动态
产业政策法规
维权援助
个人中心
详情
文本
图像
标题
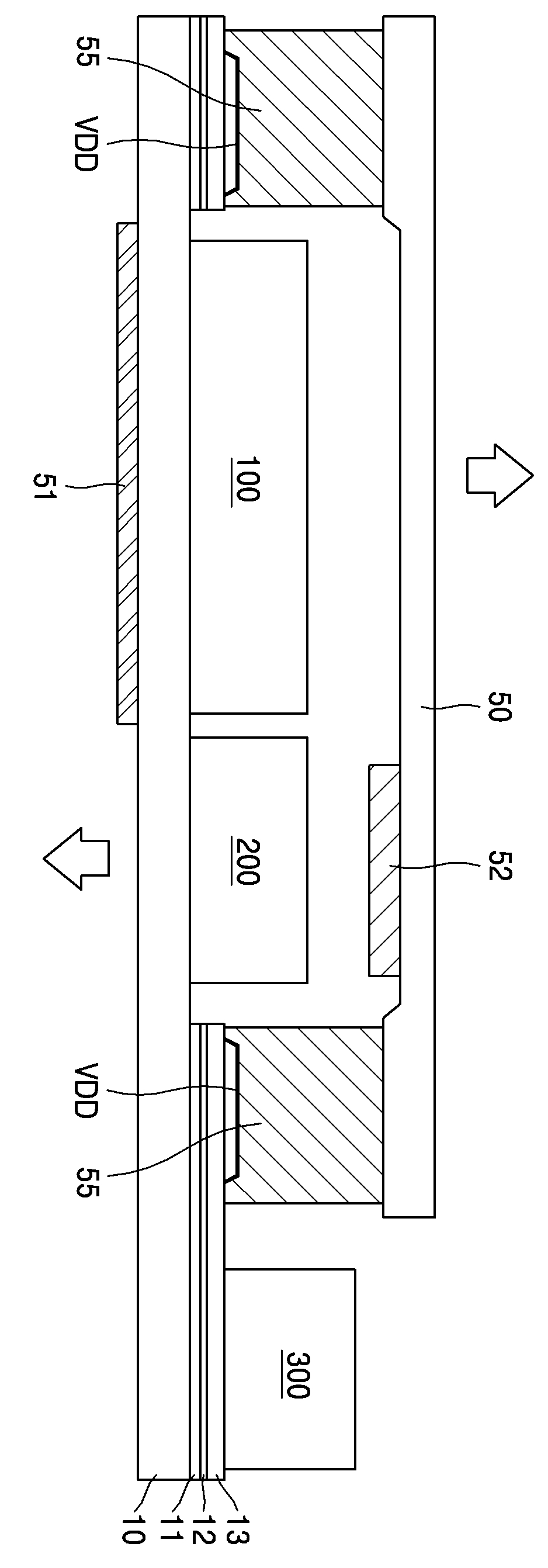
유기 전계 발광 표시장치
授权日
2006-05-15
公开(公告)号
KR100581913B1
申请日
2004-05-22
公开(公告)日
2006-05-23
当前申请(专利权)人
삼성에스디아이 주식회사
发明人
곽원규 | 이관희 | 박성천
简单同族
CN1700830A | CN1700830B | JP2005338769A | JP4012908B2 | KR100581913B1 | KR1020050111488A | US20050258744A1 | US7586254
简单同族成员数量
8
简单同族被引用专利总数
83
诉讼案件数
0
法律状态/事件
授权 | 权利转移
抱歉,您的浏览器不支持PDF预览,请点击链接下载PDF文件