专利数据库
统计分析
产业报告
专利数据监控
产业人才
行业动态
产业政策法规
维权援助
个人中心
详情
文本
图像
标题
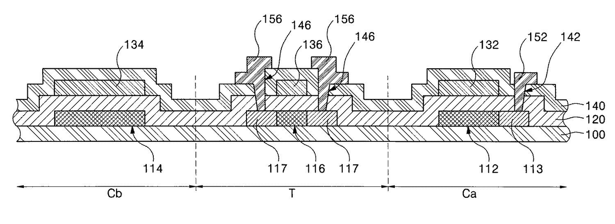
유기전계발광표시장치 및 그의 제조 방법
授权日
2008-11-04
公开(公告)号
KR100867926B1
申请日
2007-06-21
公开(公告)日
2008-11-10
当前申请(专利权)人
삼성에스디아이 주식회사
发明人
이재용 | 김양완
简单同族
CN101330094A | CN101330094B | EP2006904A2 | EP2006904A3 | EP2006904B1 | JP2009003405A | JP4989415B2 | KR100867926B1 | US20080315189A1 | US7696521
简单同族成员数量
10
简单同族被引用专利总数
67
诉讼案件数
0
法律状态/事件
授权 | 权利转移
抱歉,您的浏览器不支持PDF预览,请点击链接下载PDF文件