专利数据库
统计分析
产业报告
专利数据监控
产业人才
行业动态
产业政策法规
维权援助
个人中心
详情
文本
图像
标题
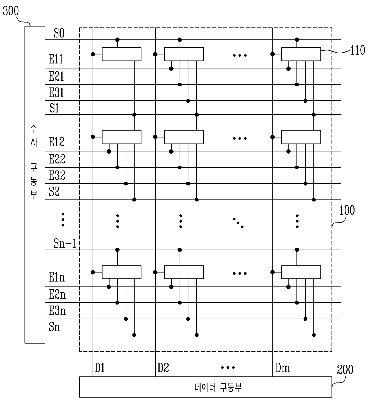
화소회로 및 발광 표시장치
授权日
2006-07-14
公开(公告)号
KR100604061B1
申请日
2004-12-09
公开(公告)日
2006-07-24
当前申请(专利权)人
삼성에스디아이 주식회사
发明人
곽원규 | 박성천
简单同族
CN100397463C | CN1790468A | JP2006163371A | JP4368845B2 | KR100604061B1 | KR1020060065084A | US20060139257A1 | US7535447
简单同族成员数量
8
简单同族被引用专利总数
48
诉讼案件数
0
法律状态/事件
授权 | 权利转移
抱歉,您的浏览器不支持PDF预览,请点击链接下载PDF文件