专利数据库
统计分析
产业报告
专利数据监控
产业人才
行业动态
产业政策法规
维权援助
个人中心
详情
文本
图像
标题
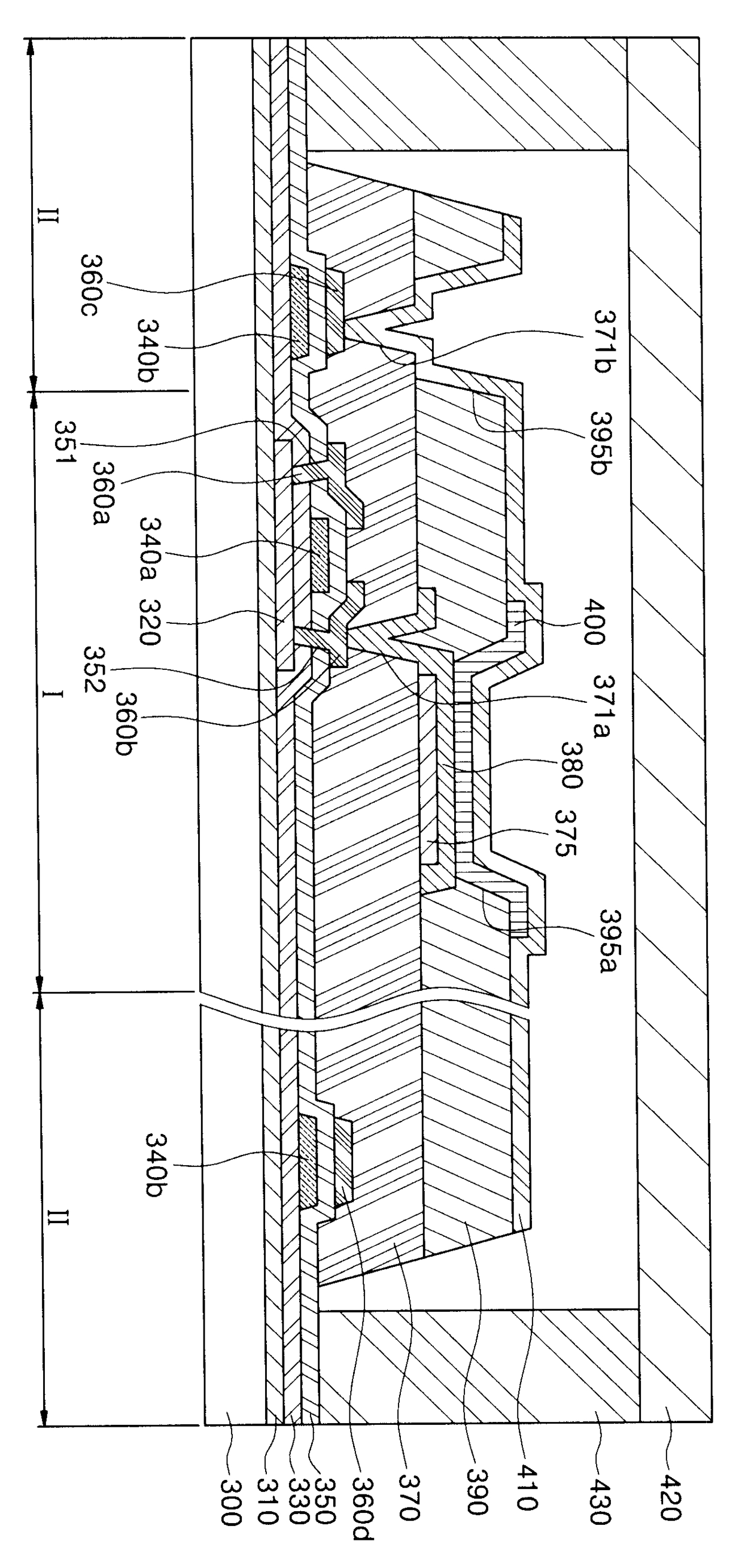
유기전계발광표시장치 및 그 제조방법
授权日
2007-02-15
公开(公告)号
KR100685854B1
申请日
2006-01-25
公开(公告)日
2007-02-15
当前申请(专利权)人
삼성에스디아이 주식회사
发明人
최동수 | 박진우
简单同族
CN101009310A | CN101009310B | EP1814161A2 | EP1814161A3 | JP2007200890A | KR100685854B1 | TW200730010A | TWI341143B | US20070170455A1 | US8026511
简单同族成员数量
10
简单同族被引用专利总数
85
诉讼案件数
0
法律状态/事件
授权 | 权利转移
抱歉,您的浏览器不支持PDF预览,请点击链接下载PDF文件