专利数据库
统计分析
产业报告
专利数据监控
产业人才
行业动态
产业政策法规
维权援助
个人中心
详情
文本
图像
标题
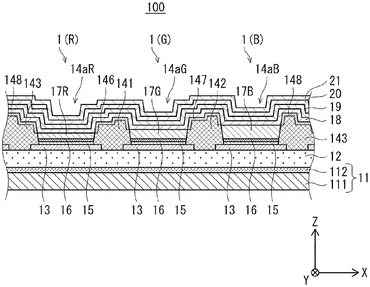
Organic EL display panel, organic EL display device, and organic EL display panel manufacturing method
授权日
2020-07-21
公开(公告)号
US10720478
申请日
2018-12-14
公开(公告)日
2020-07-21
当前申请(专利权)人
JOLED INC.
发明人
KONDO, MASAHIKO
简单同族
US10720478 | US20190189713A1
简单同族成员数量
2
简单同族被引用专利总数
0
诉讼案件数
0
法律状态/事件
授权 | 权利转移
抱歉,您的浏览器不支持PDF预览,请点击链接下载PDF文件