专利数据库
统计分析
产业报告
专利数据监控
产业人才
行业动态
产业政策法规
维权援助
个人中心
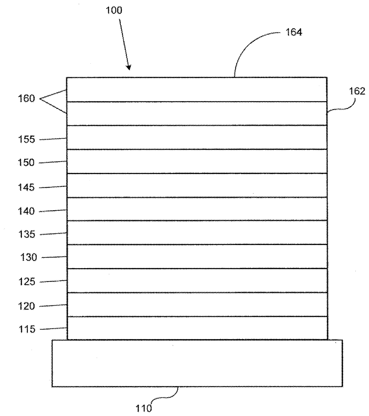
详情
文本
图像
标题
Organic electroluminescent materials and devices
授权日
1900-01-01
公开(公告)号
US20200044163A1
申请日
2019-09-06
公开(公告)日
2020-02-06
当前申请(专利权)人
UNIVERSAL DISPLAY CORPORATION
发明人
HUNG, YI-TZU | WONG, KEN-TSUNG | KWONG, RAYMOND | XIA, CHUANJUN
简单同族
CN105294658A | CN105294658B | JP2015229677A | JP2019145808A | KR1020150139459A | US10461260 | US20150349273A1 | US20200044163A1
简单同族成员数量
8
简单同族被引用专利总数
49
诉讼案件数
0
法律状态/事件
实质审查 | 权利转移
抱歉,您的浏览器不支持PDF预览,请点击链接下载PDF文件