专利数据库
统计分析
产业报告
专利数据监控
产业人才
行业动态
产业政策法规
维权援助
个人中心
详情
文本
图像
标题
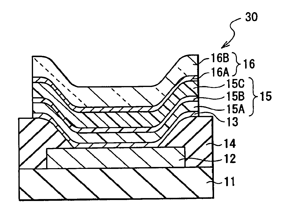
Electroluminescence device and display device
授权日
2019-12-31
公开(公告)号
US10522781
申请日
2018-06-11
公开(公告)日
2019-12-31
当前申请(专利权)人
SONY CORPORATION
发明人
HANAWA, KOJI | YAMADA, JIRO | HIRANO, TAKASHI
简单同族
CN100416885C | CN1481656A | EP1422977A1 | EP1422977A4 | JP2003077681A | JP3804858B2 | KR100868599B1 | KR1020040030445A | TW557638B | US10020460 | US10522781 | US20040021414A1 | US20080067927A1 | US20150137104A1 | US20160233454A1 | US20160268539A1 | US20180294430A1 | US7285905 | US8937428 | US9240564 | US9722201 | WO2003022011A1
简单同族成员数量
22
简单同族被引用专利总数
117
诉讼案件数
0
法律状态/事件
授权 | 权利转移
抱歉,您的浏览器不支持PDF预览,请点击链接下载PDF文件