专利数据库
统计分析
产业报告
专利数据监控
产业人才
行业动态
产业政策法规
维权援助
个人中心
详情
文本
图像
标题
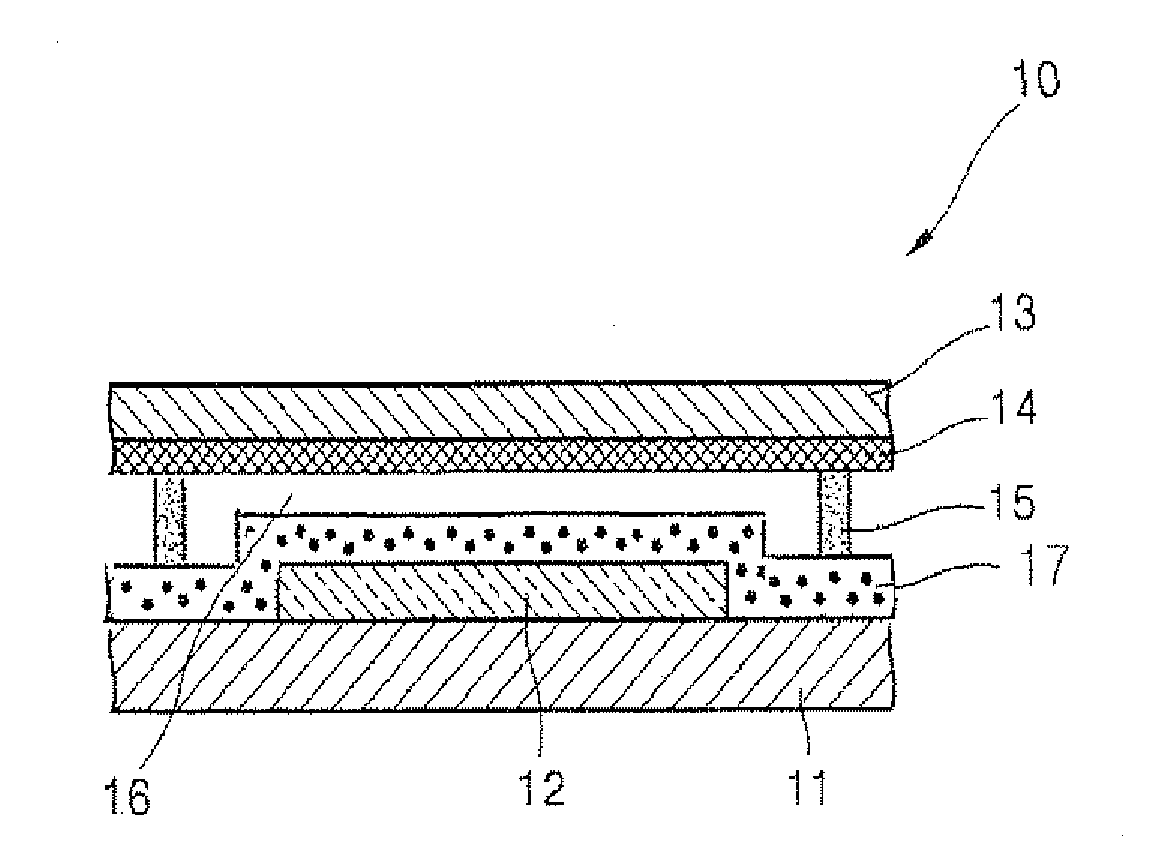
Organic electroluminescent display device and method of manufacturing the same
授权日
1900-01-01
公开(公告)号
US20140134772A1
申请日
2014-01-22
公开(公告)日
2014-05-15
当前申请(专利权)人
SAMSUNG DISPLAY CO., LTD.
发明人
PARK, JIN-WOO | LEE, JONG-HYUK
简单同族
CN1536938A | CN1536938B | JP2004319450A | JP4185006B2 | KR100496286B1 | KR1020040088841A | US10135030 | US20040201347A1 | US20080064286A1 | US20140134772A1 | US20160172627A1 | US20170309865A1 | US8652566 | US9306193 | US9711757
简单同族成员数量
15
简单同族被引用专利总数
54
诉讼案件数
0
法律状态/事件
授权
抱歉,您的浏览器不支持PDF预览,请点击链接下载PDF文件