专利数据库
统计分析
产业报告
专利数据监控
产业人才
行业动态
产业政策法规
维权援助
个人中心
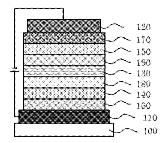
详情
文本
图像
标题
Organic electroluminescent compound and organic photoelectric apparatus thereof
授权日
1900-01-01
公开(公告)号
US20170186973A1
申请日
2016-05-25
公开(公告)日
2017-06-29
当前申请(专利权)人
SHANGHAI TIANMA AM-OLED CO., LTD. | TIANMA MICRO-ELECTRONICS CO., LTD.
发明人
REN, HONGYANG | WANG, XIANGCHENG | HE, WEI
简单同族
CN105418486A | US20170186973A1 | US9899609
简单同族成员数量
3
简单同族被引用专利总数
47
诉讼案件数
0
法律状态/事件
授权 | 权利转移
抱歉,您的浏览器不支持PDF预览,请点击链接下载PDF文件