专利数据库
统计分析
产业报告
专利数据监控
产业人才
行业动态
产业政策法规
维权援助
个人中心
详情
文本
图像
标题
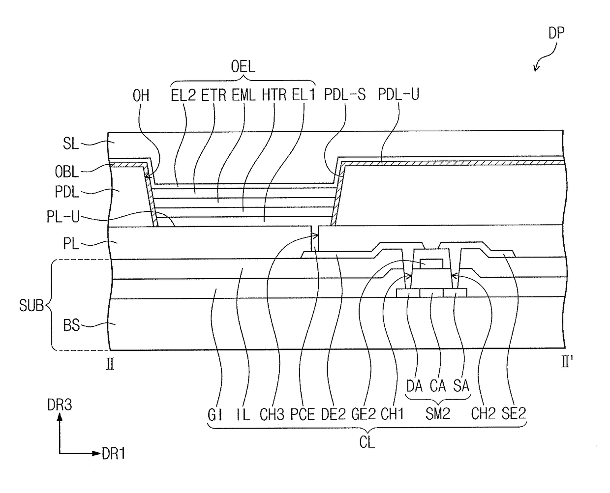
Display device
授权日
1900-01-01
公开(公告)号
US20190027547A1
申请日
2018-05-21
公开(公告)日
2019-01-24
当前申请(专利权)人
SAMSUNG DISPLAY CO., LTD.
发明人
KIM, BYUNG-CHUL | KIM, SUJEONG | YEON, KIYOUNG | JOO, SUN-KYU | HUH, CHUL | KIM, INOK | MUN, HYERAN | SONG, INSEOK | LEE, WOOYOUNG | LEE, YUI-KU
简单同族
KR1020190009875A | US20190027547A1
简单同族成员数量
2
简单同族被引用专利总数
0
诉讼案件数
0
法律状态/事件
实质审查 | 权利转移
抱歉,您的浏览器不支持PDF预览,请点击链接下载PDF文件