专利数据库
统计分析
产业报告
专利数据监控
产业人才
行业动态
产业政策法规
维权援助
个人中心
详情
文本
图像
标题
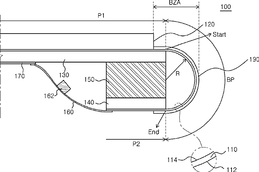
Electronic devices with flexible display and method for manufacturing the same
授权日
1900-01-01
公开(公告)号
US20140217382A1
申请日
2014-01-30
公开(公告)日
2014-08-07
当前申请(专利权)人
LG DISPLAY CO., LTD.
发明人
KWON, SEYEOUL | YOO, JUHN SUK | YANG, JAE HUN | YANG, HEESEOK | LEE, CHANWOO | YOUN, SANGCHEON | JO, SOYOUNG
简单同族
US20140217382A1 | US9349969
简单同族成员数量
2
简单同族被引用专利总数
161
诉讼案件数
0
法律状态/事件
授权 | 权利转移
抱歉,您的浏览器不支持PDF预览,请点击链接下载PDF文件