专利数据库
统计分析
产业报告
专利数据监控
产业人才
行业动态
产业政策法规
维权援助
个人中心
详情
文本
图像
标题
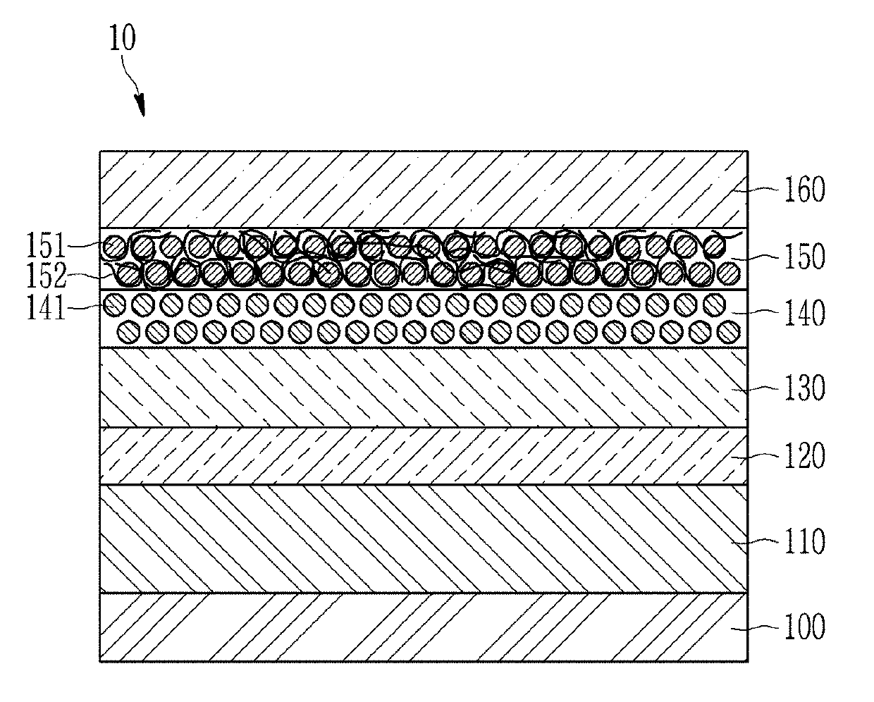
Electroluminescent device, and display device comprising thereof
授权日
1900-01-01
公开(公告)号
US20190288230A1
申请日
2018-07-18
公开(公告)日
2019-09-19
当前申请(专利权)人
SAMSUNG ELECTRONICS CO., LTD.
发明人
KIM, CHAN SU | KIM, TAE HO | PARK, KUN SU | JANG, EUN JOO
简单同族
KR1020190108389A | US20190288230A1
简单同族成员数量
2
简单同族被引用专利总数
0
诉讼案件数
0
法律状态/事件
实质审查 | 权利转移
抱歉,您的浏览器不支持PDF预览,请点击链接下载PDF文件