专利数据库
统计分析
产业报告
专利数据监控
产业人才
行业动态
产业政策法规
维权援助
个人中心
详情
文本
图像
标题
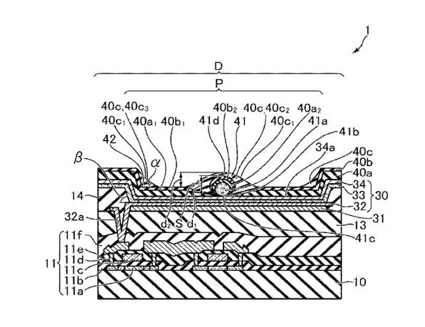
Organic electroluminescence display device and method of manufacturing organic electroluminescence display device
授权日
2017-11-07
公开(公告)号
US9812668
申请日
2016-10-27
公开(公告)日
2017-11-07
当前申请(专利权)人
JAPAN DISPLAY INC.
发明人
KAMIYA, AKINORI
简单同族
CN104051668A | CN104051668B | CN107507851A | EP2779264A2 | EP2779264A3 | JP2014179278A | JP6139196B2 | KR101591162B1 | KR101710381B1 | KR101839263B1 | KR1020140113541A | KR1020160013244A | KR1020170020716A | TW201444065A | TWI545826B | US10367167 | US10693106 | US20140264300A1 | US20150380682A1 | US20170047384A1 | US20170047549A1 | US20180047939A1 | US20190288237A1 | US9159951 | US9515289 | US9812668 | US9818979
简单同族成员数量
27
简单同族被引用专利总数
55
诉讼案件数
0
法律状态/事件
授权
抱歉,您的浏览器不支持PDF预览,请点击链接下载PDF文件