专利数据库
统计分析
产业报告
专利数据监控
产业人才
行业动态
产业政策法规
维权援助
个人中心
详情
文本
图像
标题
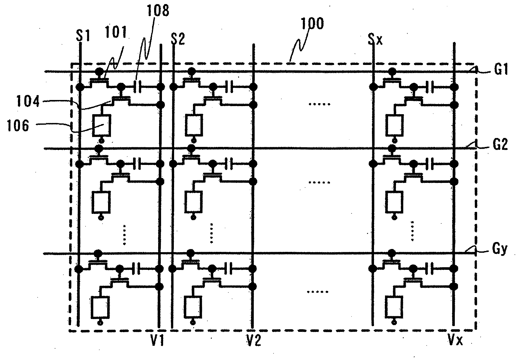
Display device
授权日
1900-01-01
公开(公告)号
US20120276960A1
申请日
2012-07-03
公开(公告)日
2012-11-01
当前申请(专利权)人
SEMICONDUCTOR ENERGY LABORATORY CO., LTD.
发明人
YOSHIDA, YASUNORI | KIMURA, HAJIMA | MAEKAWA, SHINJI | NAKAMURA, OSAMU | YAMAZAKI, SHUNPEI
简单同族
CN101069222A | CN102496346A | CN102496346B | CN102569342A | CN102569342B | CN102738180A | CN102738180B | JP2012252351A | JP2014002391A | JP2015099370A | JP2017211659A | JP2019071614A | JP2020042297A | JP5393854B2 | JP6677785B2 | KR101216377B1 | KR101220102B1 | KR101315791B1 | KR101333509B1 | KR1020070098850A | KR1020110134523A | KR1020110136895A | KR1020120102768A | US20080246407A1 | US20100224934A1 | US20120056550A1 | US20120276960A1 | US20130341627A1 | US20140319491A1 | US7733315 | US8102347 | US8228277 | US8547315 | US8717269 | US9123625 | WO2006062180A1
简单同族成员数量
36
简单同族被引用专利总数
46
诉讼案件数
0
法律状态/事件
授权
抱歉,您的浏览器不支持PDF预览,请点击链接下载PDF文件