专利数据库
统计分析
产业报告
专利数据监控
产业人才
行业动态
产业政策法规
维权援助
个人中心
详情
文本
图像
标题
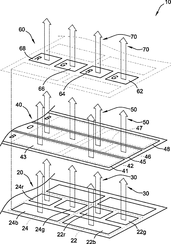
High resolution display architecture
授权日
1900-01-01
公开(公告)号
US20130285537A1
申请日
2012-04-25
公开(公告)日
2013-10-31
当前申请(专利权)人
IGNIS INNOVATION INC.
发明人
CHAJI, GHOLAMREZA
简单同族
CN104254915A | CN104254915B | CN110429113A | EP2842160A1 | EP2842160A4 | JP2015515732A | JP2015515732A5 | US20130285537A1 | US9190456 | USR48002 | WO2013160778A1
简单同族成员数量
11
简单同族被引用专利总数
50
诉讼案件数
0
法律状态/事件
授权 | 权利转移
抱歉,您的浏览器不支持PDF预览,请点击链接下载PDF文件