专利数据库
统计分析
产业报告
专利数据监控
产业人才
行业动态
产业政策法规
维权援助
个人中心
详情
文本
图像
标题
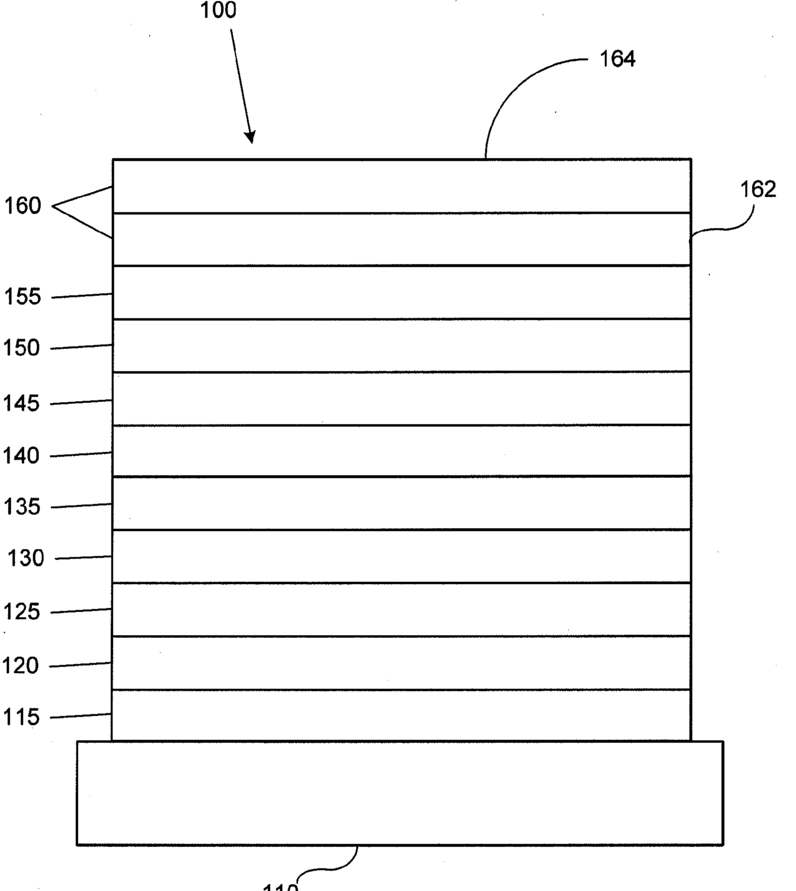
Novel Organic Light Emitting Materials
授权日
1900-01-01
公开(公告)号
US20130146848A1
申请日
2011-12-09
公开(公告)日
2013-06-13
当前申请(专利权)人
UNIVERSAL DISPLAY CORPORATION
发明人
MA, BIN | DEANGELIS, ALAN | XIA, CHUANJUN
简单同族
CN103159798A | CN108358975A | EP2602302A2 | EP2602302A3 | EP2602302B1 | JP2013121957A | JP2017014275A | JP6332904B2 | JP6426676B2 | KR1020130065595A | KR1020190088453A | TW201329203A | TW201728742A | TW201920599A | TWI591155B | TWI642758B | US10454046 | US20130146848A1 | US20170047531A1 | US20200006675A1 | US9512355
简单同族成员数量
21
简单同族被引用专利总数
173
诉讼案件数
0
法律状态/事件
授权 | 权利转移
抱歉,您的浏览器不支持PDF预览,请点击链接下载PDF文件