专利数据库
统计分析
产业报告
专利数据监控
产业人才
行业动态
产业政策法规
维权援助
个人中心
详情
文本
图像
标题
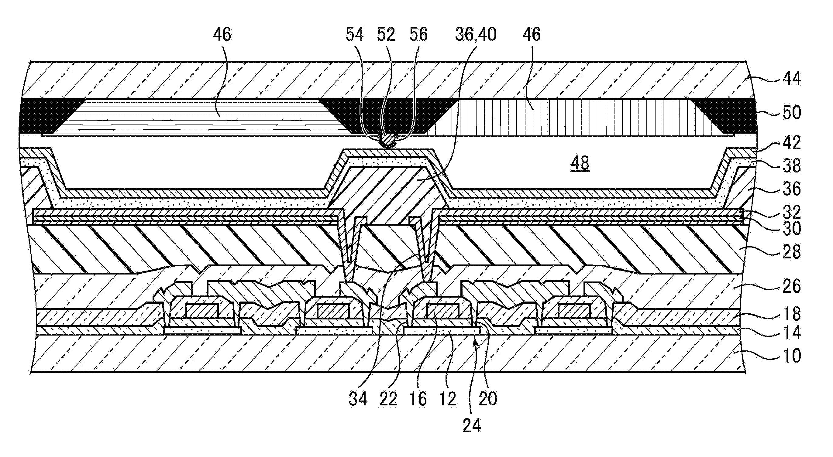
Organic electroluminescence display device
授权日
1900-01-01
公开(公告)号
US20160276420A1
申请日
2016-06-02
公开(公告)日
2016-09-22
当前申请(专利权)人
JAPAN DISPLAY INC.
发明人
OOOKA, HIROSHI | MIYAMOTO, MITSUHIDE
简单同族
JP2014186844A | JP2014186844A5 | JP5991490B2 | US10236336 | US20140284572A1 | US20150325629A1 | US20160276420A1 | US20170236893A1 | US9231036 | US9397148
简单同族成员数量
10
简单同族被引用专利总数
48
诉讼案件数
0
法律状态/事件
撤回
抱歉,您的浏览器不支持PDF预览,请点击链接下载PDF文件