专利数据库
统计分析
产业报告
专利数据监控
产业人才
行业动态
产业政策法规
维权援助
个人中心
详情
文本
图像
标题
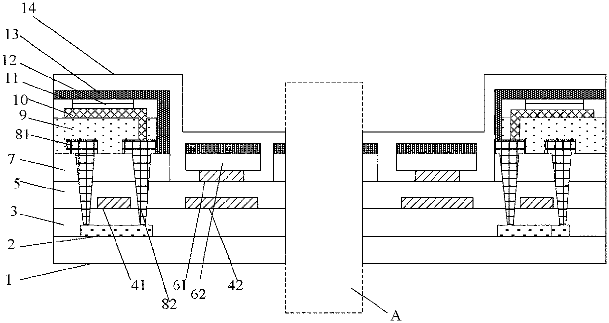
OLED display substrate and method for preparing the same, and display device
授权日
1900-01-01
公开(公告)号
US20200127215A1
申请日
2019-05-13
公开(公告)日
2020-04-23
当前申请(专利权)人
BOE TECHNOLOGY GROUP CO., LTD.
发明人
WANG, HEJIN | WANG, PINFAN
简单同族
CN109360843A | US20200127215A1
简单同族成员数量
2
简单同族被引用专利总数
0
诉讼案件数
0
法律状态/事件
公开 | 权利转移
抱歉,您的浏览器不支持PDF预览,请点击链接下载PDF文件