专利数据库
统计分析
产业报告
专利数据监控
产业人才
行业动态
产业政策法规
维权援助
个人中心
详情
文本
图像
标题
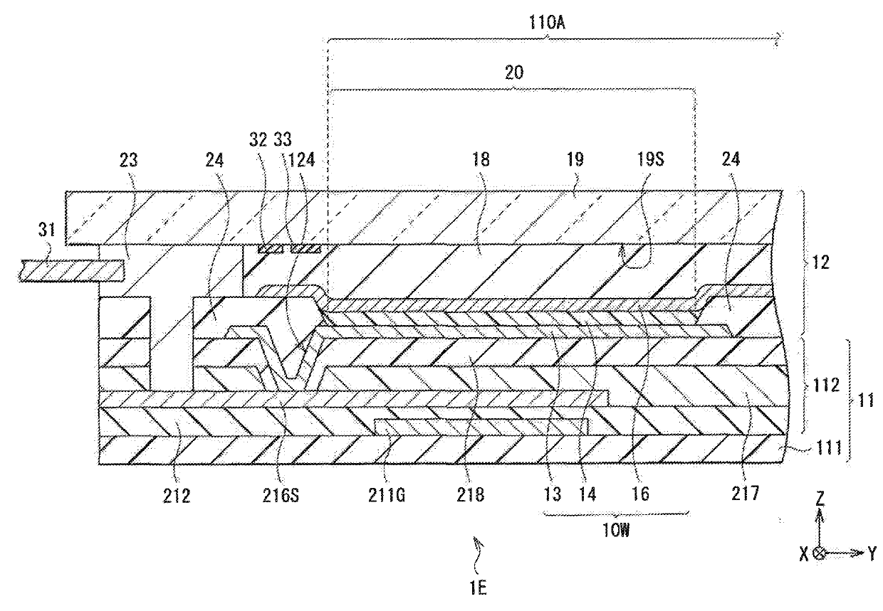
Display unit with moisture proof film outside of seal section and electronic apparatus with said display unit
授权日
1900-01-01
公开(公告)号
US20200013988A1
申请日
2019-09-16
公开(公告)日
2020-01-09
当前申请(专利权)人
JOLED INC.
发明人
SAITO, TAKATOSHI | IZUMI, KENICHI | TERAGUCHI, SHINICHI | NAKADAIRA, TADAKATSU | YOKOZEKI, MIKIHIRO | NISHI, SHOTA | KODATE, MANABU
简单同族
CN104471736A | CN104471736B | CN108899338A | CN108899338B | EP2880700A2 | JP2014044793A | JP2014044793A5 | JP6142151B2 | KR101933266B1 | KR1020150040270A | KR1020190000364A | TW201405804A | TWI580028B | US10305065 | US10476031 | US20150207100A1 | US20180083223A1 | US20190221772A1 | US20200013988A1 | US9865839 | WO2014020899A2 | WO2014020899A3
简单同族成员数量
22
简单同族被引用专利总数
50
诉讼案件数
0
法律状态/事件
实质审查
抱歉,您的浏览器不支持PDF预览,请点击链接下载PDF文件