专利数据库
统计分析
产业报告
专利数据监控
产业人才
行业动态
产业政策法规
维权援助
个人中心
详情
文本
图像
标题
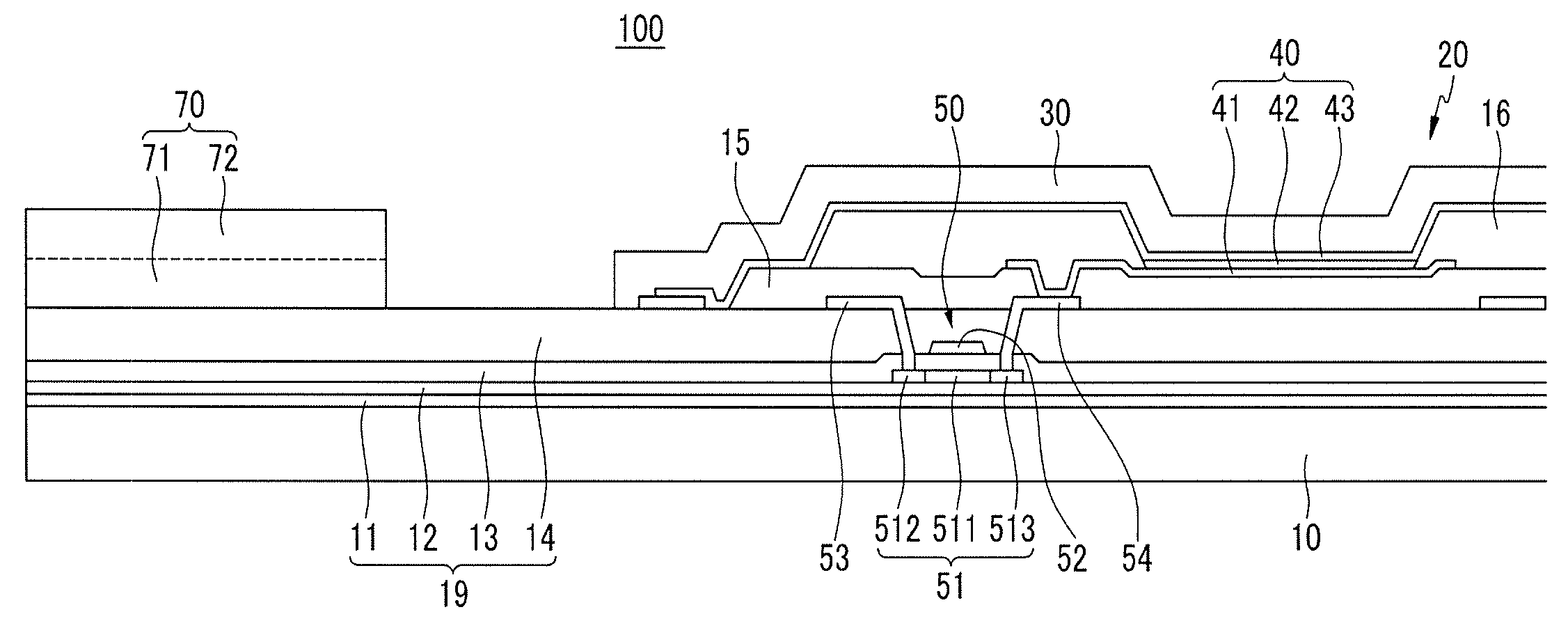
Flexible display having a crack suppressing layer
授权日
2016-10-18
公开(公告)号
US9472779
申请日
2014-06-10
公开(公告)日
2016-10-18
当前申请(专利权)人
SAMSUNG DISPLAY CO., LTD
发明人
KIM, KWANG-NYUN
简单同族
CN104377223A | CN104377223B | CN110190107A | CN110246881A | EP2838132A2 | EP2838132A3 | KR101907593B1 | KR1020150019380A | US20150048329A1 | US9472779
简单同族成员数量
10
简单同族被引用专利总数
49
诉讼案件数
0
法律状态/事件
授权 | 权利转移
抱歉,您的浏览器不支持PDF预览,请点击链接下载PDF文件