专利数据库
统计分析
产业报告
专利数据监控
产业人才
行业动态
产业政策法规
维权援助
个人中心
详情
文本
图像
标题
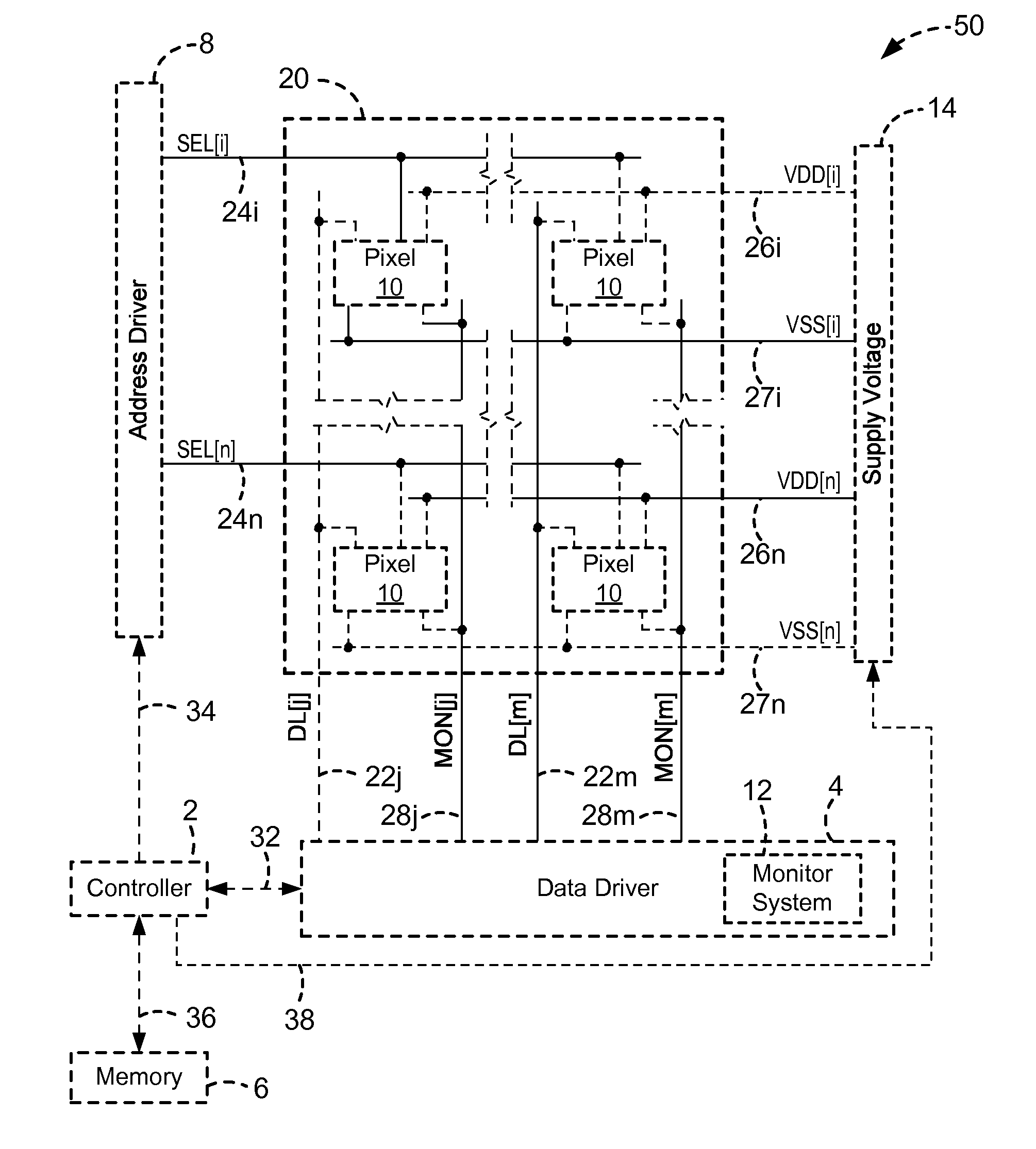
Amoled displays with multiple readout circuits
授权日
1900-01-01
公开(公告)号
US20160203766A1
申请日
2016-03-22
公开(公告)日
2016-07-14
当前申请(专利权)人
IGNIS INNOVATION INC.
发明人
SONI, JAIMAL | NGAN, RICKY YIK HEI | CHAJI, GHOLAMREZA | ZAHIROVIC, NINO | DIONNE, JOSEPH MARCEL
简单同族
US10460660 | US20140267215A1 | US20160203766A1 | US20170287398A1 | US20180261158A1 | US20200013335A1 | US9324268 | US9721512 | US9997107 | WO2014141106A2 | WO2014141106A3
简单同族成员数量
11
简单同族被引用专利总数
55
诉讼案件数
0
法律状态/事件
授权 | 权利转移
抱歉,您的浏览器不支持PDF预览,请点击链接下载PDF文件