专利数据库
统计分析
产业报告
专利数据监控
产业人才
行业动态
产业政策法规
维权援助
个人中心
详情
文本
图像
标题
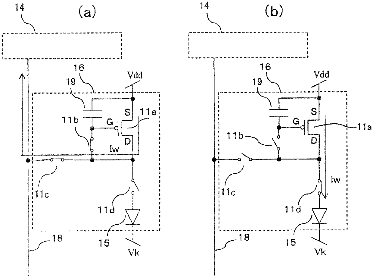
El display apparatus
授权日
1900-01-01
公开(公告)号
US20200135103A1
申请日
2019-12-13
公开(公告)日
2020-04-30
当前申请(专利权)人
JOLED INC.
发明人
TAKAHARA, HIROSHI | TSUGE, HITOSHI
简单同族
CN1552050A | CN1552050B | EP1424674A1 | EP1424674A4 | EP1424674B1 | EP3232429A1 | EP3232429B1 | EP3407340A1 | EP3407340B1 | EP3611716A2 | EP3611716A3 | JP4452075B2 | JPWO2003023750A1 | JPWO2003023750A5 | KR100572428B1 | KR1020040031055A | US10134336 | US10198992 | US10198993 | US10347183 | US10453395 | US10553158 | US10699639 | US20050041002A1 | US20140333609A1 | US20170047015A1 | US20170061886A1 | US20170069267A1 | US20170221412A1 | US20180144686A1 | US20180166013A1 | US20180166014A1 | US20180277038A1 | US20190043425A1 | US20190108791A1 | US20200135103A1 | US8823606 | US9728130 | US9892683 | US9922597 | US9959809 | US9997108 | WO2003023750A1
简单同族成员数量
43
简单同族被引用专利总数
227
诉讼案件数
0
法律状态/事件
授权 | 权利转移
抱歉,您的浏览器不支持PDF预览,请点击链接下载PDF文件