专利数据库
统计分析
产业报告
专利数据监控
产业人才
行业动态
产业政策法规
维权援助
个人中心
详情
文本
图像
标题
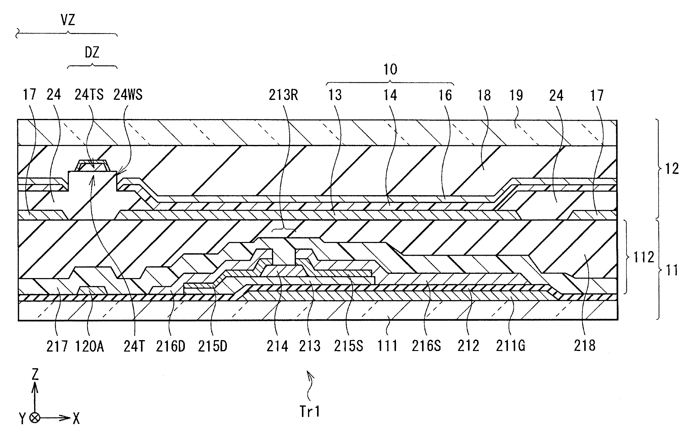
Display device
授权日
2014-10-21
公开(公告)号
US8866133
申请日
2013-03-01
公开(公告)日
2014-10-21
当前申请(专利权)人
SONY CORPORATION
发明人
SAGAWA, HIROSHI
简单同族
CN102332535A | CN102332535B | JP2012014868A | US10074712 | US10672855 | US20110316007A1 | US20130187139A1 | US20150028324A1 | US20160307989A1 | US20170025490A1 | US20180047803A1 | US20190006453A1 | US8399892 | US8866133 | US9401321 | US9590024 | US9929227
简单同族成员数量
17
简单同族被引用专利总数
50
诉讼案件数
0
法律状态/事件
授权 | 权利转移
抱歉,您的浏览器不支持PDF预览,请点击链接下载PDF文件