专利数据库
统计分析
产业报告
专利数据监控
产业人才
行业动态
产业政策法规
维权援助
个人中心
详情
文本
图像
标题
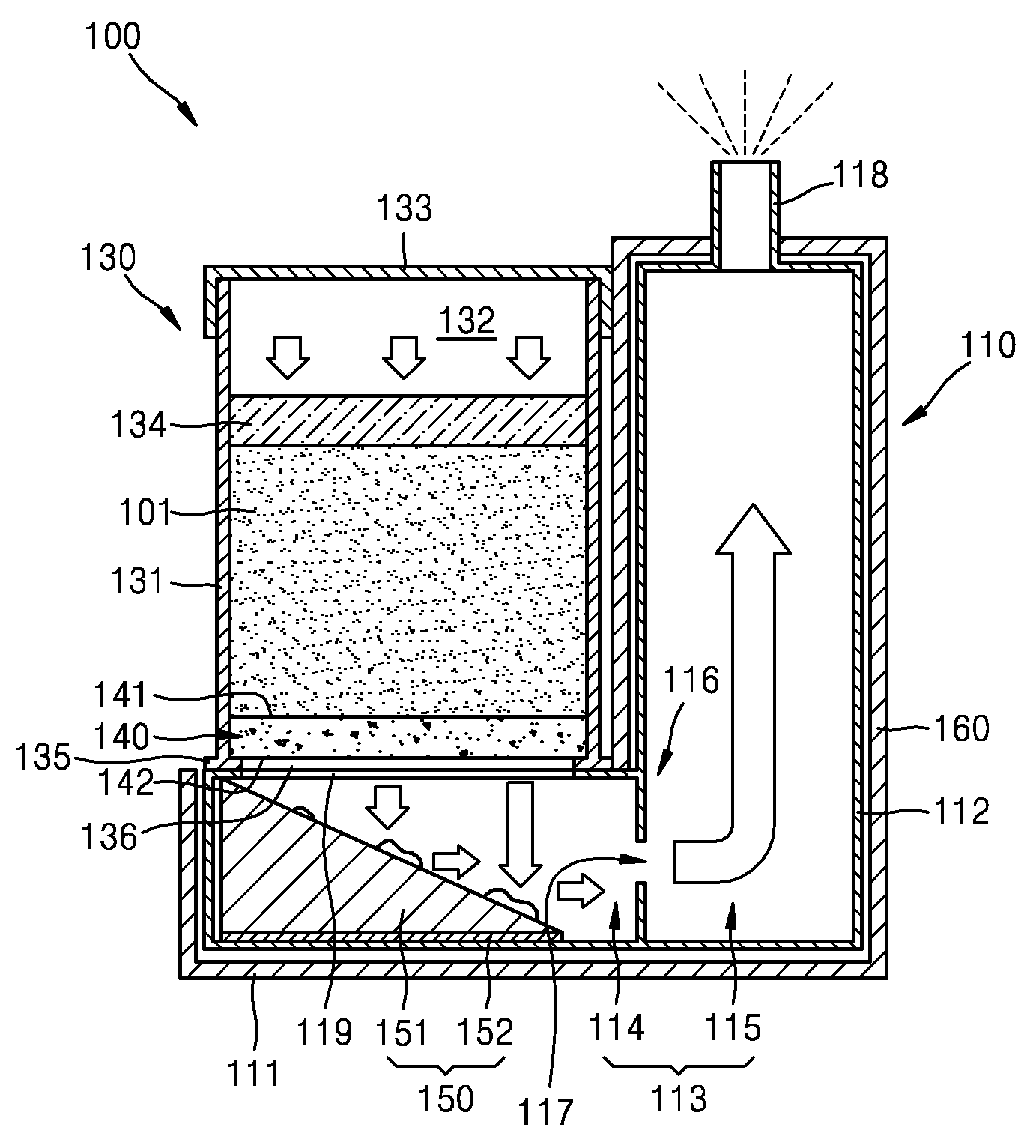
Deposition source for organic light-emitting display apparatus
授权日
1900-01-01
公开(公告)号
US20160308171A1
申请日
2015-10-27
公开(公告)日
2016-10-20
当前申请(专利权)人
SAMSUNG DISPLAY CO., LTD.
发明人
LEE, YOUJONG
简单同族
KR1020160123438A | US20160308171A1
简单同族成员数量
2
简单同族被引用专利总数
0
诉讼案件数
0
法律状态/事件
撤回 | 权利转移
抱歉,您的浏览器不支持PDF预览,请点击链接下载PDF文件