专利数据库
统计分析
产业报告
专利数据监控
产业人才
行业动态
产业政策法规
维权援助
个人中心
详情
文本
图像
标题
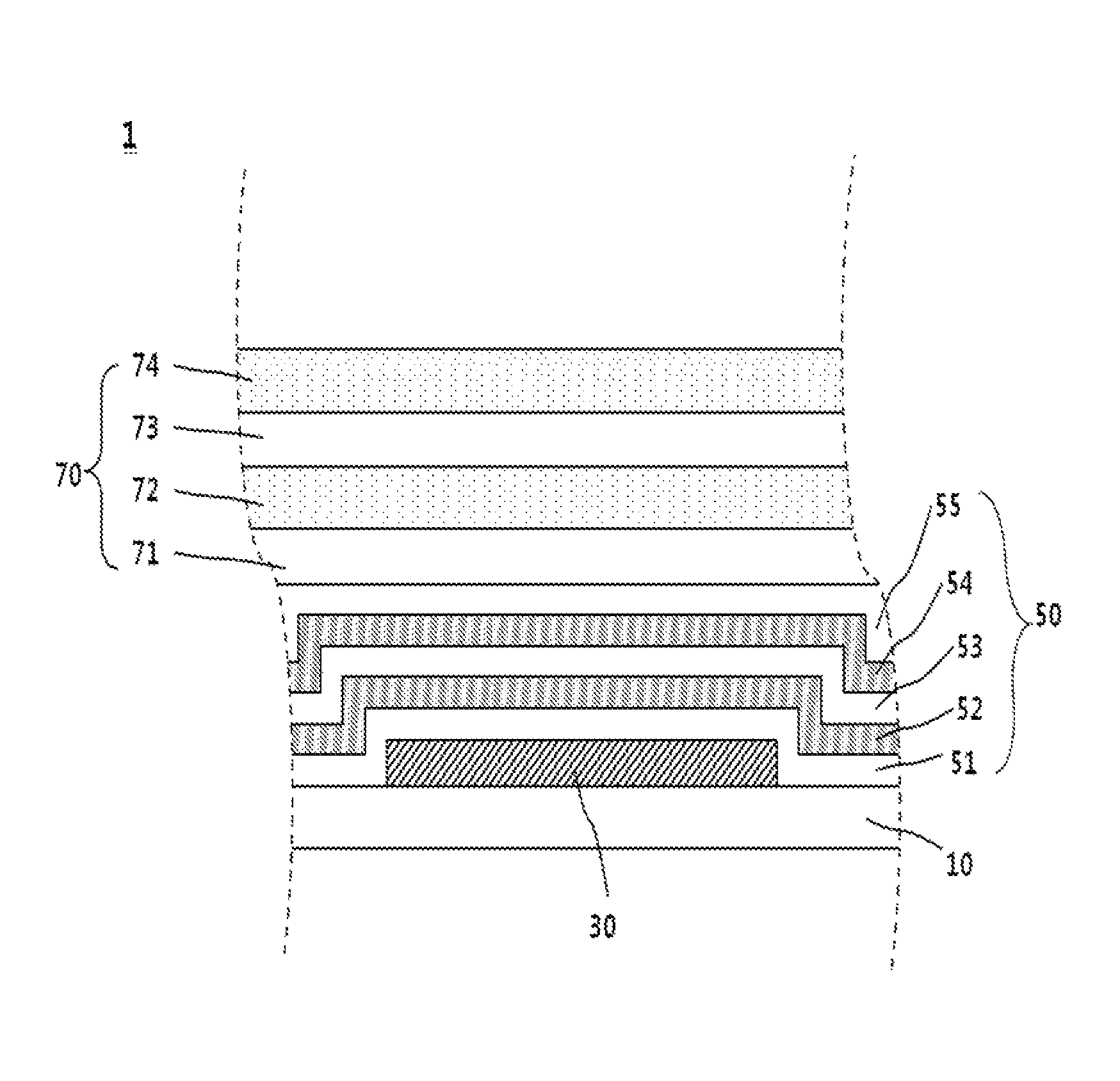
Display device and method of manufacturing the same
授权日
2015-06-02
公开(公告)号
US9048459
申请日
2013-09-06
公开(公告)日
2015-06-02
当前申请(专利权)人
SAMSUNG DISPLAY CO., LTD.
发明人
CHO, SANG HWAN | JEON, JIN HWAN | KIM, SOO YOUN | PARK, SANG HYUN | CHO, YOON HYEUNG | SONG, SEUNG YONG
简单同族
CN103794734A | CN103794734B | JP2014086415A | JP6274764B2 | KR101951223B1 | KR1020140056498A | TW201421670A | TWI624048B | US20140117330A1 | US9048459
简单同族成员数量
10
简单同族被引用专利总数
54
诉讼案件数
0
法律状态/事件
授权 | 权利转移
抱歉,您的浏览器不支持PDF预览,请点击链接下载PDF文件