专利数据库
统计分析
产业报告
专利数据监控
产业人才
行业动态
产业政策法规
维权援助
个人中心
详情
文本
图像
标题
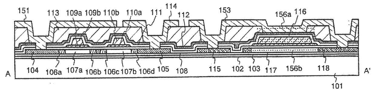
Display device
授权日
1900-01-01
公开(公告)号
US20170186780A1
申请日
2016-11-28
公开(公告)日
2017-06-29
当前申请(专利权)人
SEMICONDUTCOR ENERGY LABORATORY CO., LTD.
发明人
YAMAZAKI, SHUNPEI | MURAKAMI, SATOSHI | OSAME, MITSUAKI
简单同族
CN100445812C | CN1458812A | JP2010166063A | JP2012124494A | JP2012124494A5 | JP2012230383A | JP2012230383A5 | JP2013117735A | JP2014059574A | JP2014059574A5 | JP2014078027A | JP2014078027A5 | JP2014112686A | JP2014160823A | JP2014178698A | JP2014178698A5 | JP2015019074A | JP2015065438A | JP5005051B2 | JP5376734B2 | JP5376738B2 | JP5433726B2 | JP5636488B2 | JP5648140B2 | JP5913516B2 | KR100979923B1 | KR1020030088872A | TW200306511A | TW200632809A | TWI269248B | TWI272556B | US20030230764A1 | US20050218452A1 | US20090315032A1 | US20110278578A1 | US20120261667A1 | US20130277709A1 | US20140191239A1 | US20150108515A1 | US20160086982A1 | US20170186780A1 | US6960786 | US7554116 | US7989808 | US8207537 | US8471259 | US8748895 | US8927994 | US9165991 | US9508756 | US9966390
简单同族成员数量
51
简单同族被引用专利总数
138
诉讼案件数
0
法律状态/事件
授权
抱歉,您的浏览器不支持PDF预览,请点击链接下载PDF文件