专利数据库
统计分析
产业报告
专利数据监控
产业人才
行业动态
产业政策法规
维权援助
个人中心
详情
文本
图像
标题
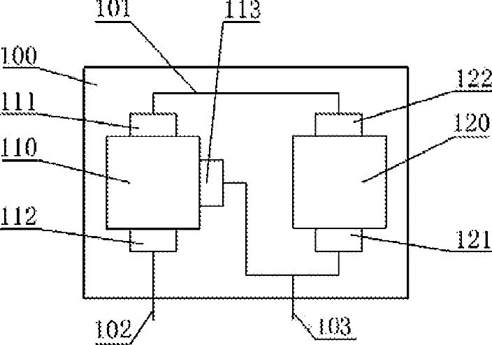
OLED pixel driving circuit
授权日
1900-01-01
公开(公告)号
US20140192038A1
申请日
2014-01-09
公开(公告)日
2014-07-10
当前申请(专利权)人
EVERDISPLAY OPTRONICS (SHANGHAI) LIMITED
发明人
QIN, YONGLIANG | CHEN, JR HONG | HUANG, CHU WAN
简单同族
CN103077680A | CN103077680B | TW201331916A | US20140192038A1
简单同族成员数量
4
简单同族被引用专利总数
70
诉讼案件数
0
法律状态/事件
撤回 | 权利转移
抱歉,您的浏览器不支持PDF预览,请点击链接下载PDF文件