专利数据库
统计分析
产业报告
专利数据监控
产业人才
行业动态
产业政策法规
维权援助
个人中心
详情
文本
图像
标题
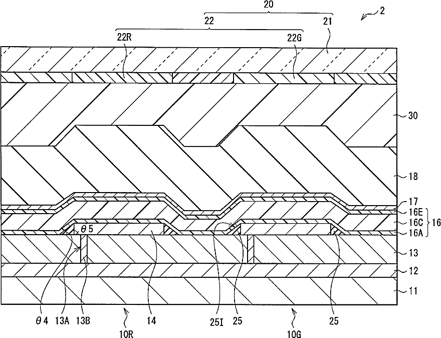
Organic light emitting device and display unit including the same
授权日
1900-01-01
公开(公告)号
US20150069375A1
申请日
2014-11-18
公开(公告)日
2015-03-12
当前申请(专利权)人
SONY CORPORATION
发明人
YOKOYAMA, SEIICHI | MAKITA, ATSUYA | HASEGAWA, EIJI | YAMADA, JIRO | SHIRAI, HIROHISA | KOGA, YASUTAKA | HIBARINO, SHINSUKE
简单同族
CN102738406A | CN102738406B | CN105590956A | JP2012216495A | JP2012216495A5 | JP5919807B2 | US20120248467A1 | US20150069375A1 | US8963170 | US9190460
简单同族成员数量
10
简单同族被引用专利总数
51
诉讼案件数
0
法律状态/事件
授权
抱歉,您的浏览器不支持PDF预览,请点击链接下载PDF文件