专利数据库
统计分析
产业报告
专利数据监控
产业人才
行业动态
产业政策法规
维权援助
个人中心
详情
文本
图像
标题
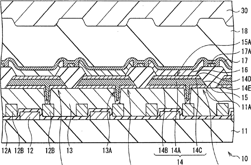
Laminated structure, display device and display unit employing same
授权日
1900-01-01
公开(公告)号
US20160336531A1
申请日
2016-07-28
公开(公告)日
2016-11-17
当前申请(专利权)人
SONY CORPORATION
发明人
YOKOYAMA, SEIICHI
简单同族
CN100472839C | CN101459227A | CN1575063A | JP2004355918A | JP2004355918A5 | JP4062171B2 | KR101028072B1 | KR1020040103339A | TW200509747A | TWI240597B | US10170725 | US20050001963A1 | US20070063645A1 | US20120229742A1 | US20130248836A1 | US20130248837A1 | US20140332784A1 | US20150228922A1 | US20160336531A1 | US20170338439A1 | US7245341 | US8963417 | US9041629 | US9048451 | US9431627 | US9761825
简单同族成员数量
26
简单同族被引用专利总数
185
诉讼案件数
0
法律状态/事件
授权 | 权利转移
抱歉,您的浏览器不支持PDF预览,请点击链接下载PDF文件