专利数据库
统计分析
产业报告
专利数据监控
产业人才
行业动态
产业政策法规
维权援助
个人中心
详情
文本
图像
标题
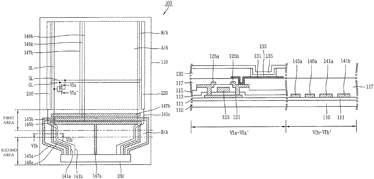
Flexible display device and method for fabricating the same
授权日
2020-06-23
公开(公告)号
US10692442
申请日
2017-09-08
公开(公告)日
2020-06-23
当前申请(专利权)人
LG DISPLAY CO., LTD.
发明人
LEE, HOYOUNG | KANG, CHANGHEON
简单同族
CN104752485A | CN104752485B | CN108109529A | CN108109529B | CN108520893A | EP2889866A2 | EP2889866A3 | EP2889866B1 | EP3496082A1 | KR1020150079206A | KR102086644B1 | US10679567 | US10692442 | US20150187279A1 | US20180012551A1 | US20180068621A1 | US9786229
简单同族成员数量
17
简单同族被引用专利总数
65
诉讼案件数
0
法律状态/事件
授权
抱歉,您的浏览器不支持PDF预览,请点击链接下载PDF文件