专利数据库
统计分析
产业报告
专利数据监控
产业人才
行业动态
产业政策法规
维权援助
个人中心
详情
文本
图像
标题
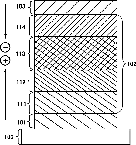
Organic compound, anthracene derivative, and light-emitting element, light-emitting device, and electronic device in which the anthracene derivative is used
授权日
1900-01-01
公开(公告)号
US20150005509A1
申请日
2014-09-10
公开(公告)日
2015-01-01
当前申请(专利权)人
SEMICONDUCTOR ENERGY LABORATORY CO., LTD.
发明人
KAWAKAMI, SACHIKO | OHSAWA, NOBUHARU
简单同族
CN101293865A | CN101293865B | CN103145606A | CN103145606B | EP1985613A2 | EP1985613A3 | EP1985613B1 | JP2009196970A | JP2014205685A | JP2016006883A | JP2017038068A | JP2018158920A | JP2019163272A | JP5553968B2 | JP5785303B2 | JP6333334B2 | JP6522829B2 | KR101446254B1 | KR101562655B1 | KR101579918B1 | KR1020080095749A | KR1020140071982A | KR1020140138570A | TW200902679A | TW201418413A | TW201604184A | TWI431095B | TWI499654B | TWI593675B | US20080268284A1 | US20150005509A1 | US20170018711A1 | US20180083191A1 | US8835018 | US9461248 | US9831440
简单同族成员数量
36
简单同族被引用专利总数
77
诉讼案件数
0
法律状态/事件
授权
抱歉,您的浏览器不支持PDF预览,请点击链接下载PDF文件