专利数据库
统计分析
产业报告
专利数据监控
产业人才
行业动态
产业政策法规
维权援助
个人中心
详情
文本
图像
标题
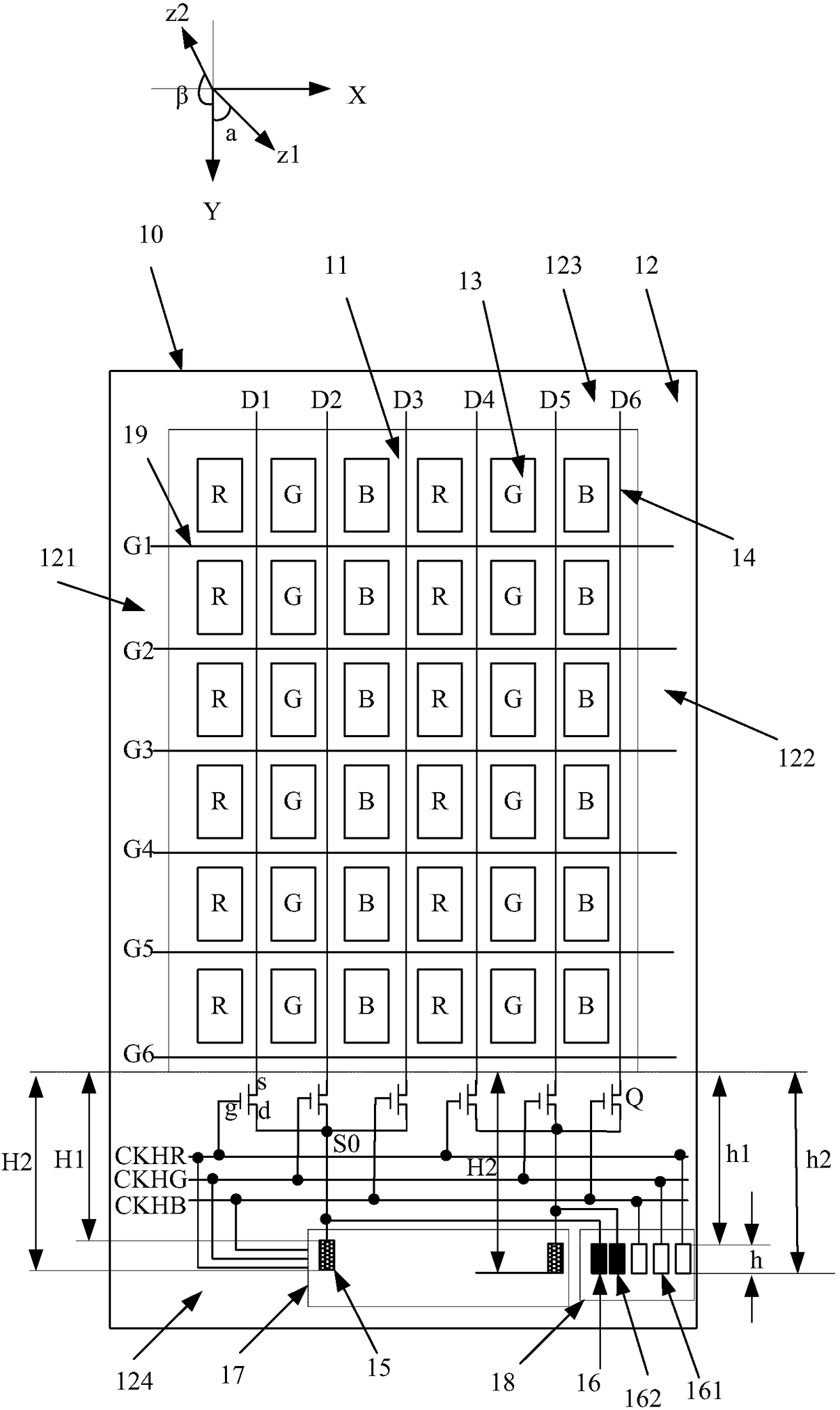
一种阵列基板、液晶显示面板以及电子设备
授权日
2017-10-03
公开(公告)号
CN206541109U
申请日
2016-12-23
公开(公告)日
2017-10-03
当前申请(专利权)人
上海中航光电子有限公司 | 天马微电子股份有限公司
发明人
邵琬童 | 敦栋梁
简单同族
CN206541109U
简单同族成员数量
1
简单同族被引用专利总数
0
诉讼案件数
0
法律状态/事件
授权
抱歉,您的浏览器不支持PDF预览,请点击链接下载PDF文件