专利数据库
统计分析
产业报告
专利数据监控
产业人才
行业动态
产业政策法规
维权援助
个人中心
详情
文本
图像
标题
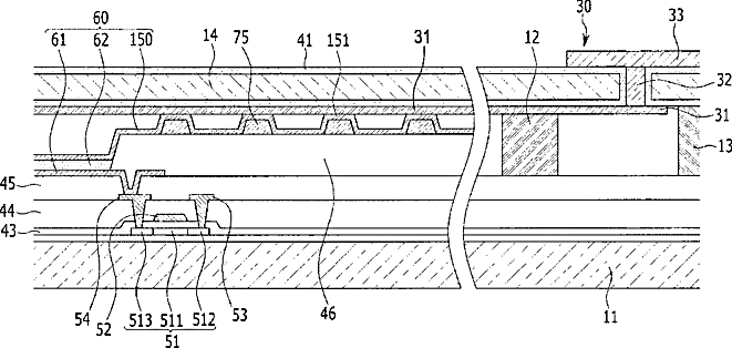
Display device and organic light emitting diode display device
授权日
2014-12-09
公开(公告)号
US8907561
申请日
2011-07-22
公开(公告)日
2014-12-09
当前申请(专利权)人
SAMSUNG DISPLAY CO., LTD.
发明人
RYU, DO-HYUNG | KO, CHUN-SEOK | KIM, SANG-SOO
简单同族
CN102347453A | CN102347453B | EP2413363A2 | EP2413363A3 | EP2413363B1 | EP3537494A1 | JP2012119301A | KR101275792B1 | KR1020120011318A | TW201210015A | TWI475684B | US20120025700A1 | US8907561
简单同族成员数量
13
简单同族被引用专利总数
46
诉讼案件数
0
法律状态/事件
授权 | 权利转移
抱歉,您的浏览器不支持PDF预览,请点击链接下载PDF文件