专利数据库
统计分析
产业报告
专利数据监控
产业人才
行业动态
产业政策法规
维权援助
个人中心
详情
文本
图像
标题
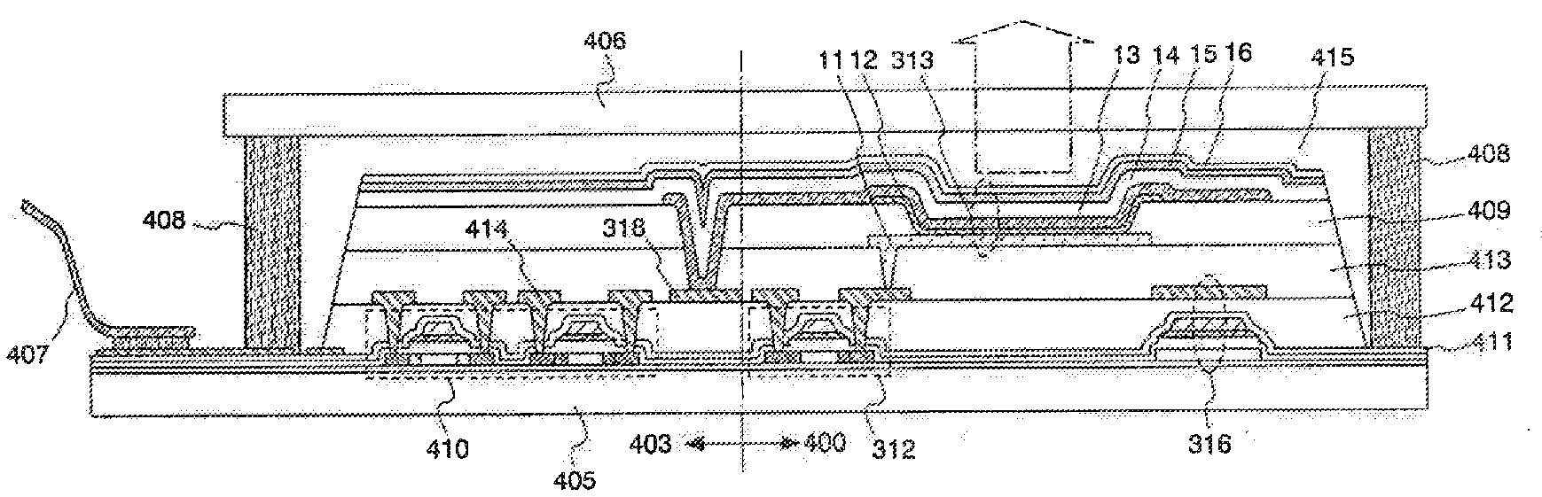
Light-Emitting Element and Display Device
授权日
1900-01-01
公开(公告)号
US20180315957A1
申请日
2018-07-10
公开(公告)日
2018-11-01
当前申请(专利权)人
SEMICONDUCTOR ENERGY LABORATORY CO., LTD.
发明人
IKEDA, HISAO | OHARA, HIROKI | HOSOBA, MAKOTO | SAKATA, JUNICHIRO | ITO, SHUNICHI
简单同族
CN102244202A | CN102244202B | CN102255053A | CN102255053B | CN103227293A | CN103227293B | CN1700826A | CN1700826B | JP2012033510A | JP2012033510A5 | JP2013138020A | JP2013138020A5 | JP2014096385A | JP2015213090A | JP2015233009A | JP2017084834A | JP2018107150A | JP2019021641A | JP5683051B2 | JP6059773B2 | JP6598916B2 | US20050263775A1 | US20070181912A1 | US20100148204A1 | US20120299035A1 | US20130240856A1 | US20140183509A1 | US20150034937A1 | US20160035796A1 | US20160268348A1 | US20170207417A1 | US20180315957A1 | US7202504 | US7696524 | US8212280 | US8436390 | US8669579 | US8809891 | US9105855 | US9349775 | US9614012
简单同族成员数量
41
简单同族被引用专利总数
221
诉讼案件数
0
法律状态/事件
实质审查 | 权利转移
抱歉,您的浏览器不支持PDF预览,请点击链接下载PDF文件