专利数据库
统计分析
产业报告
专利数据监控
产业人才
行业动态
产业政策法规
维权援助
个人中心
详情
文本
图像
标题
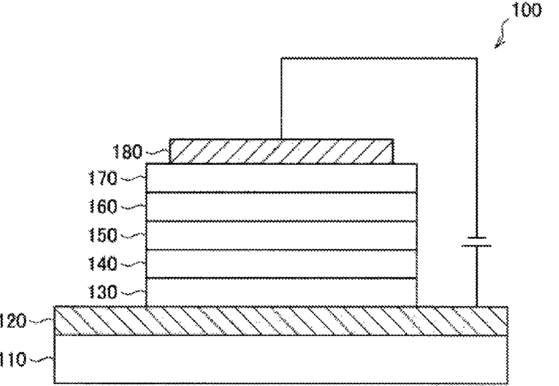
Polymer, organic light-emitting device material including the same, and organic light-emitting device including the organic light-emitting device material
授权日
2018-08-14
公开(公告)号
US10050205
申请日
2016-12-28
公开(公告)日
2018-08-14
当前申请(专利权)人
SAMSUNG ELECTRONICS CO., LTD.
发明人
ITO, MITSUNORI
简单同族
US10050205 | US20170186950A1
简单同族成员数量
2
简单同族被引用专利总数
0
诉讼案件数
0
法律状态/事件
授权 | 权利转移
抱歉,您的浏览器不支持PDF预览,请点击链接下载PDF文件