专利数据库
统计分析
产业报告
专利数据监控
产业人才
行业动态
产业政策法规
维权援助
个人中心
详情
文本
图像
标题
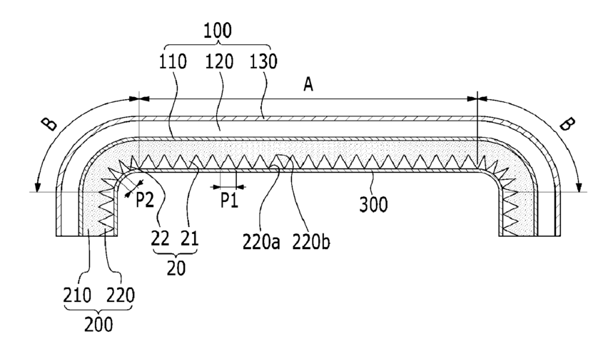
Organic Light Emitting Diode Display and Method of Manufacturing the Same
授权日
1900-01-01
公开(公告)号
US20170207412A1
申请日
2017-04-03
公开(公告)日
2017-07-20
当前申请(专利权)人
SAMSUNG DISPLAY CO., LTD.
发明人
JEONG, CHUL WOO | PARK, SOON RYONG | SO, JUNG HO | BAEK, SEOK GI | KIM, KWANG HYEOK | EOM, JEONG YONG
简单同族
CN104183620A | CN104183620B | CN109256412A | EP2806475A2 | EP2806475A3 | EP2806475B1 | US10038161 | US20140346474A1 | US20160087229A1 | US20170207412A1 | US9203050 | US9614167
简单同族成员数量
12
简单同族被引用专利总数
52
诉讼案件数
0
法律状态/事件
授权
抱歉,您的浏览器不支持PDF预览,请点击链接下载PDF文件