专利数据库
统计分析
产业报告
专利数据监控
产业人才
行业动态
产业政策法规
维权援助
个人中心
详情
文本
图像
标题
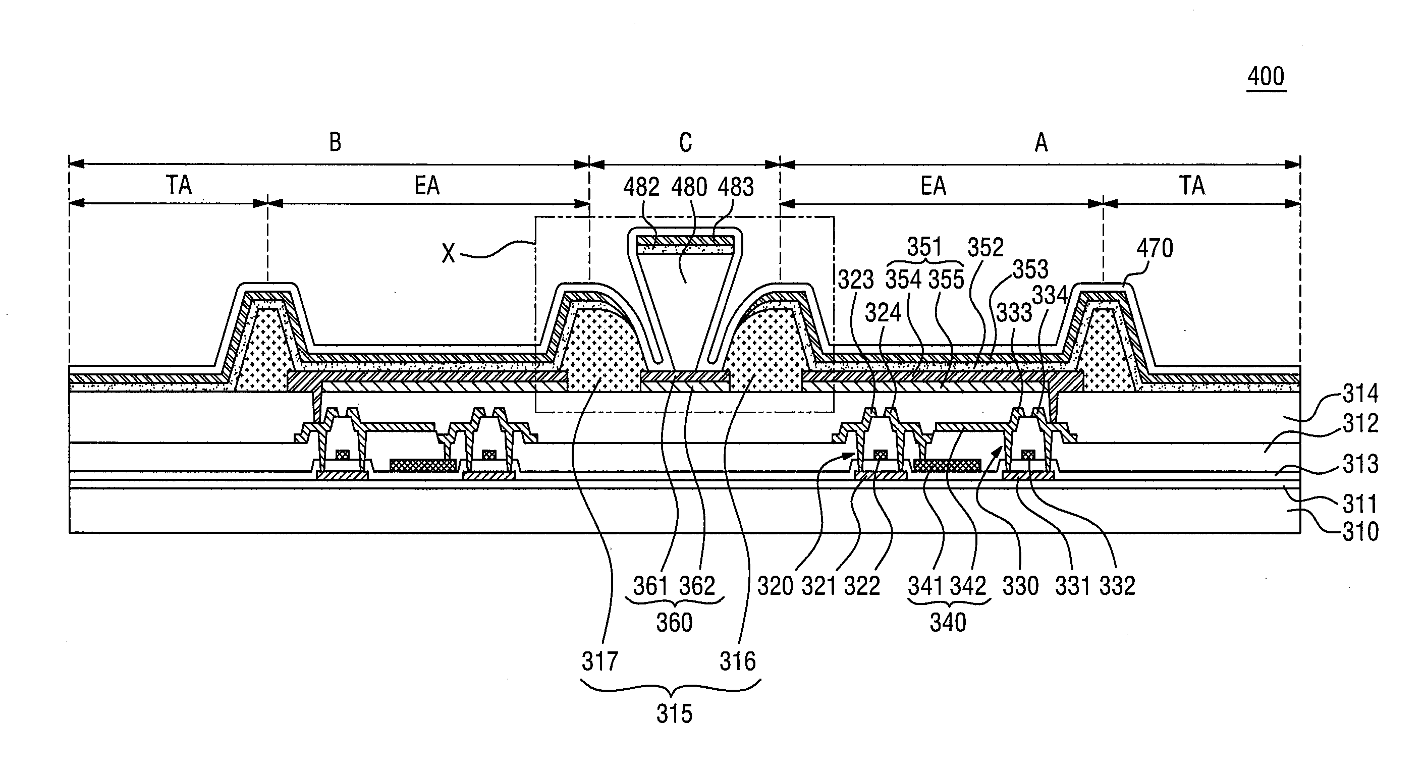
Transparent organic light emitting display device and method for manufacturing the same
授权日
1900-01-01
公开(公告)号
US20140183479A1
申请日
2013-12-10
公开(公告)日
2014-07-03
当前申请(专利权)人
LG DISPLAY CO., LTD.
发明人
PARK, SUNGHEE | KIM, BINN | KIM, JONGMOO
简单同族
CN104885251A | CN104885251B | EP2939286A1 | EP2939286A4 | KR1020140085979A | KR102020805B1 | US20140183479A1 | US9093669 | WO2014104703A1
简单同族成员数量
9
简单同族被引用专利总数
114
诉讼案件数
0
法律状态/事件
授权 | 权利转移
抱歉,您的浏览器不支持PDF预览,请点击链接下载PDF文件